Запчасти Komatsu PC200-5C КОВШ ДЛЯ ЗАЧИСТКИ ТРАНШЕЙ¤ .7M¤ 8MM РАБОЧЕЕ ОБОРУДОВАНИЕ (ЭКСКАВАТ.)

Схема запчастей Komatsu PC200-5C - КОВШ ДЛЯ ЗАЧИСТКИ ТРАНШЕЙ¤ .7M¤ 8MM РАБОЧЕЕ ОБОРУДОВАНИЕ (ЭКСКАВАТ.)
FIT
1:1
100%

Артикул

Название

Примечание

Количество

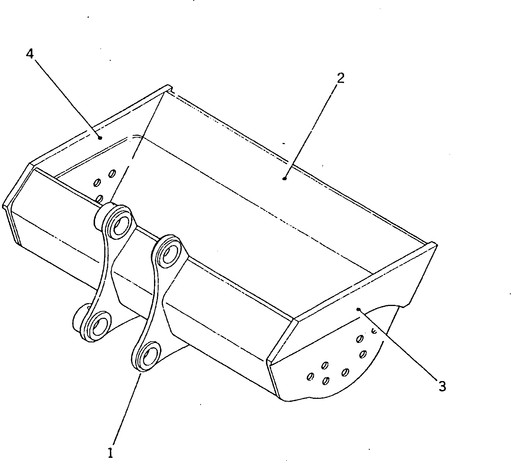
G-1

20Y-938-X101

BUCKET GROUP

|$$2

====================

1

205-938-7111

BUCKET

2

205-938-6220

PLATE (WELDED)

3

205-938-6230

PLATE,L.H. (WELDED)

4

205-938-6240

PLATE,R.H. (WELDED)

|$$7

====================

Выбрано товаров: 7