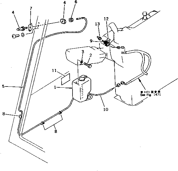
Запчасти Komatsu PC200-5S ОМЫВАТЕЛЬ СТЕКЛА (ДЛЯ WRIST УПРАВЛ-Е) ЧАСТИ КОРПУСА

Схема запчастей Komatsu PC200-5S - ОМЫВАТЕЛЬ СТЕКЛА (ДЛЯ WRIST УПРАВЛ-Е) ЧАСТИ КОРПУСА
1
2
3
4
5
6
7
7
8
8
9
9
10
11
12
13
14
15
16
17
18
18
19
19
20
20
21
22
23
24
25
FIT
1:1
100%

Артикул

Название

Примечание

Количество

G-1

20Y-06-X9011

WINDOW WASHER GROUP

1

206-06-15230

TANK

2

01010-50612

BOLT

3

01643-30623

WASHER

4

205-06-61220

NOZZLE ASS'Y

5

205-06-71470

HOSE

6

205-06-71610

NUT

7

205-06-71590

BRACKET

8

08051-00801

CLIP

9

20Y-06-15551

SWITCH

10

20Y-06-15561

WIRING HARNESS

11

09699-00000

PLATE¤ CAUTION,(JAPANESE-ENGLISH)

|11

09699-00100

PLATE¤ CAUTION,(JAPANESE)

|11

09699-03000

PLATE¤ CAUTION,(ENGLISH)

|11

09699-01000

PLATE¤ CAUTION,(SPANISH)

|11

09699-02000

PLATE¤ CAUTION,(GERMAN)

|11

09699-05000

PLATE¤ CAUTION,(FRENCH)

12

203-00-52260

PLATE¤ OPERATING

13

203-06-41610

CAP

Выбрано товаров: 19