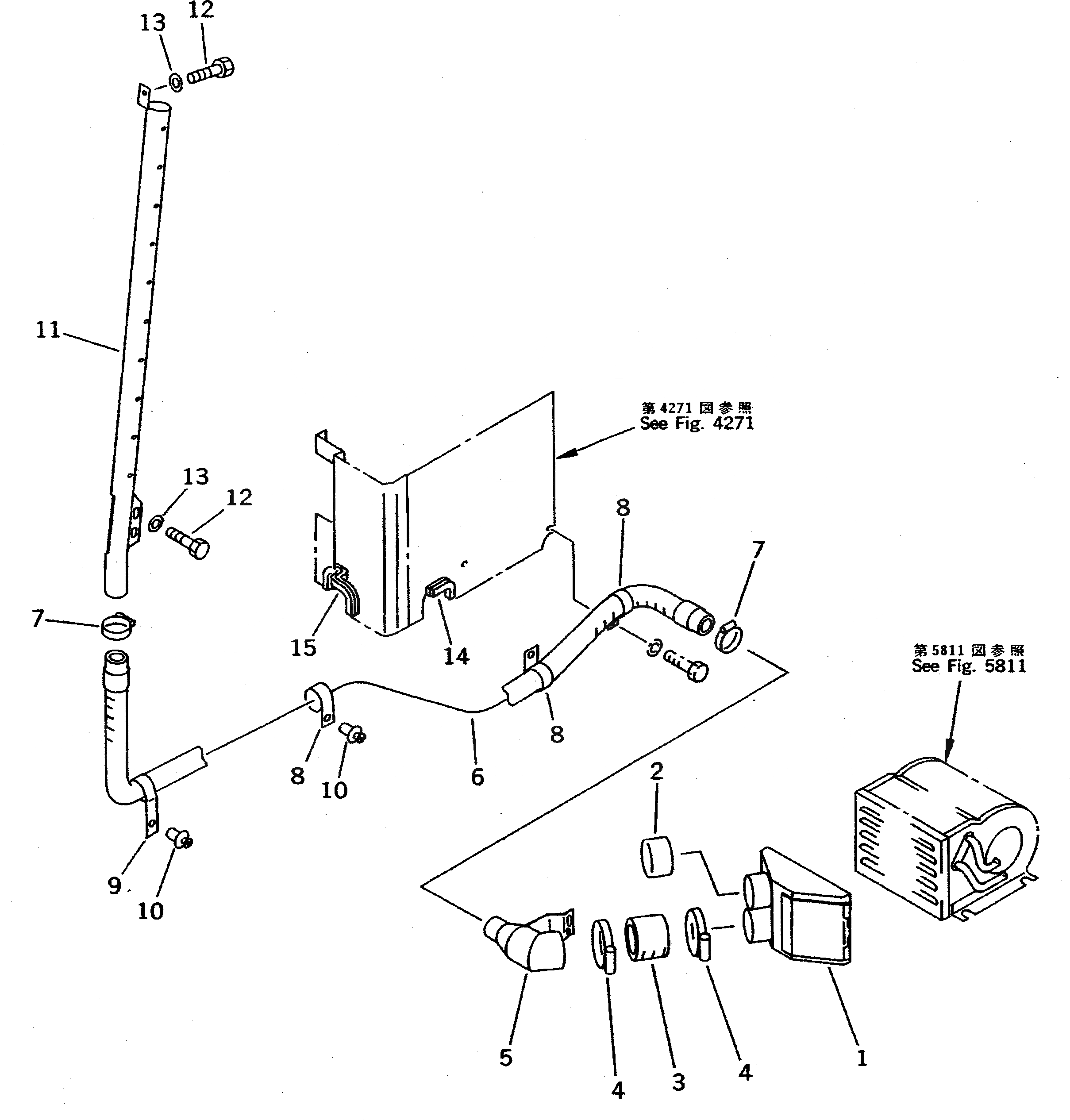
Запчасти Komatsu PC200-5S АНТИОБЛЕДЕНИТЕЛЬ (ДЛЯ WRIST УПРАВЛ-Е) ЧАСТИ КОРПУСА

Схема запчастей Komatsu PC200-5S - АНТИОБЛЕДЕНИТЕЛЬ (ДЛЯ WRIST УПРАВЛ-Е) ЧАСТИ КОРПУСА
1
2
3
4
5
6
6
7
7
8
8
FIT
1:1
100%

Артикул

Название

Примечание

Количество

G-1

20Y-977-X161

DEFROSTER GROUP

1

205-977-7261

COVER

2

205-977-7190

CAP

3

198-911-5290

HOSE

4

07281-00709

CLAMP

5

20Y-977-1190

DUCT

6

09485-03717

HOSE

7

07281-00419

CLAMP

8

113-899-7950

CLIP

9

20Y-977-1160

CLIP

10

20Y-54-13870

RIVET

11

20Y-977-1140

NOZZLE

12

01010-51020

BOLT

13

01643-31032

WASHER

14

208-54-13350

SEAL,(BONDED ON 20Y-43-16151)

15

208-54-12731

SEAL,(BONDED ON 20Y-43-16161)

Выбрано товаров: 16