Запчасти Komatsu PC200-5S КОНДЕНСАТОР ЧАСТИ КОРПУСА

Схема запчастей Komatsu PC200-5S - КОНДЕНСАТОР ЧАСТИ КОРПУСА
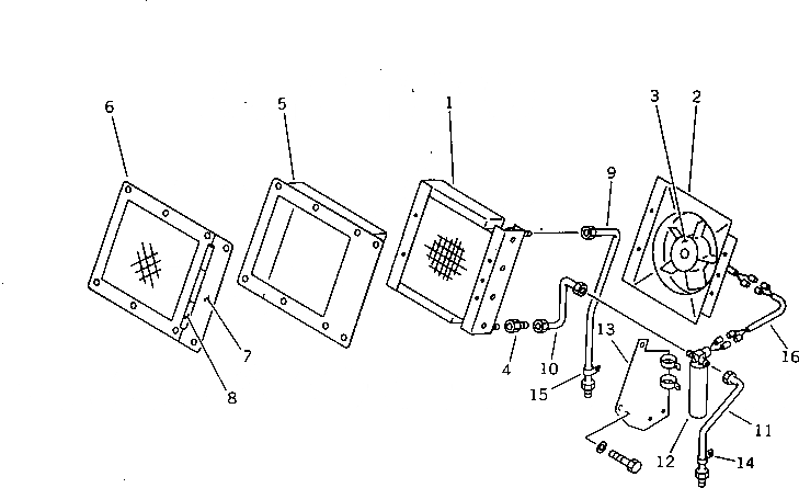
1
2
3
4
5
5
6
7
7
8
9
10
11
12
13
14
14
15
15
16
17
18
18
19
19
20
20
21
21
22
22
FIT
1:1
100%

Артикул

Название

Примечание

Количество

|1

20Y-978-1201

CONDENSER ASS'Y

|1

20Y-978-1200

CONDENSER ASS'Y

|1

CJCM05-0130

CONDENSER SUB ASS'Y

|1

CJCM05-0120

CONDENSER SUB ASS'Y

1

CJ043-1220

CONDENSER

|1

CJ043-1114

CONDENSER

2

CJ044-0872

SHROUD

3

CJ005-3938

FAN AND MOTOR A.

4

CJ014-3530

UNION

5

CJ015-26939

FRAME

6

CJ015-26940-A

COVER

7

CJ015-26940-B

COVER

8

CJ015-26940-C

PIN

9

CJ014-10982

TUBE

10

CJ014-10983

TUBE

11

CJ014-11034

TUBE

|11

CJ014-10984

TUBE

12

20Y-978-1111

RECEIVER

|12

20Y-978-1110

RECEIVER

13

CJ015-27029

BRACKET

|13

CJ015-26938

BRACKET

14

CJPC58136A

CLAMP

15

CJ033-3496

CLAMP

16

CJ019-24340

WIRING HARNESS

|16

CJ019-24320

WIRING HARNESS

Выбрано товаров: 25