Запчасти Komatsu PC200-5S ГИДРАВЛ УПРАВЛЯЮЩ. КЛАПАН (/7) УПРАВЛ-Е РАБОЧИМ ОБОРУДОВАНИЕМ

Схема запчастей Komatsu PC200-5S - ГИДРАВЛ УПРАВЛЯЮЩ. КЛАПАН (/7) УПРАВЛ-Е РАБОЧИМ ОБОРУДОВАНИЕМ
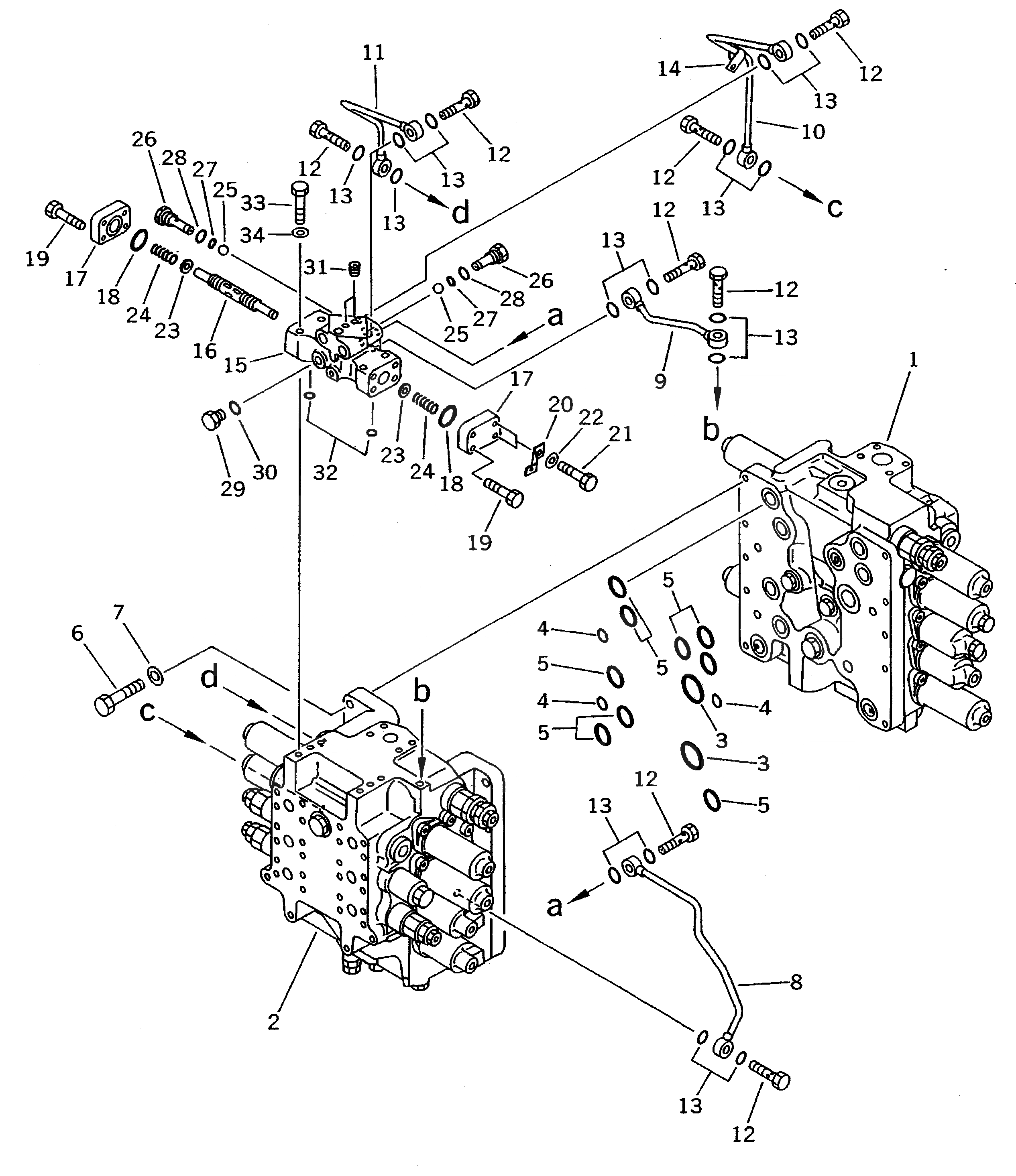
1
1
2
2
3
4
5
6
7
8
9
10
10
11
12
12
13
14
14
14
15
16
16
17
18
19
20
21
22
23
24
25
26
26
27
27
28
28
29
29
30
31
32
33
34
FIT
1:1
100%

Артикул

Название

Примечание

Количество

|1

709-79-22303

CONTROL VALVE ASS'Y

|1

709-79-22302

CONTROL VALVE ASS'Y

|1

709-79-22301

CONTROL VALVE ASS'Y

|1

709-79-22203

CONTROL VALVE ASS'Y

|1

709-79-22202

CONTROL VALVE ASS'Y

1

709-75-92600

VALVE ASS'Y

|1

709-75-92503

VALVE ASS'Y

|1

709-75-92502

VALVE ASS'Y

2

709-74-92602

VALVE ASS'Y

|2

709-74-92601

VALVE ASS'Y

|2

709-74-92600

VALVE ASS'Y

|2

709-74-92503

VALVE ASS'Y

|2

709-74-92502

VALVE ASS'Y

3

07000-13038

O-RING

4

07000-02010

O-RING

5

07000-13028

O-RING

6

01010-51040

BOLT

7

01643-31032

WASHER

8

709-79-11132

TUBE

9

709-79-11112

TUBE

10

709-79-11143

TUBE

11

709-79-11122

TUBE

12

709-79-11190

BOLT

13

07000-02011

O-RING

14

08036-31214

CLIP

|15

709-70-91801

SHUTTLE VALVE ASS'Y

|15

709-70-91800

SHUTTLE VALVE ASS'Y

15

BODY

16

SPOOL

17

709-70-91150

PLATE

18

07000-13025

O-RING

19

01010-50825

BOLT

20

08053-01512

CLIP

21

01010-50830

BOLT

22

01643-30823

WASHER

23

706-73-77140

PLATE

24

709-70-91240

SPRING

|24

709-70-91130

SPRING

25

04260-00952

BALL

26

709-70-91220

PLUG

27

07000-01007

O-RING

28

07002-01423

O-RING

29

07040-11409

PLUG

30

07002-01423

O-RING

31

07043-70108

PLUG

32

07000-11009

O-RING

33

01010-50855

BOLT

34

01643-30823

WASHER

Выбрано товаров: 48