Запчасти Komatsu PC200-5S КОВШ .9M¤ MM (ВЕРТИКАЛЬН. ПАЛЕЦ)(№98-) РАБОЧЕЕ ОБОРУДОВАНИЕ

Схема запчастей Komatsu PC200-5S - КОВШ .9M¤ MM (ВЕРТИКАЛЬН. ПАЛЕЦ)(№98-) РАБОЧЕЕ ОБОРУДОВАНИЕ
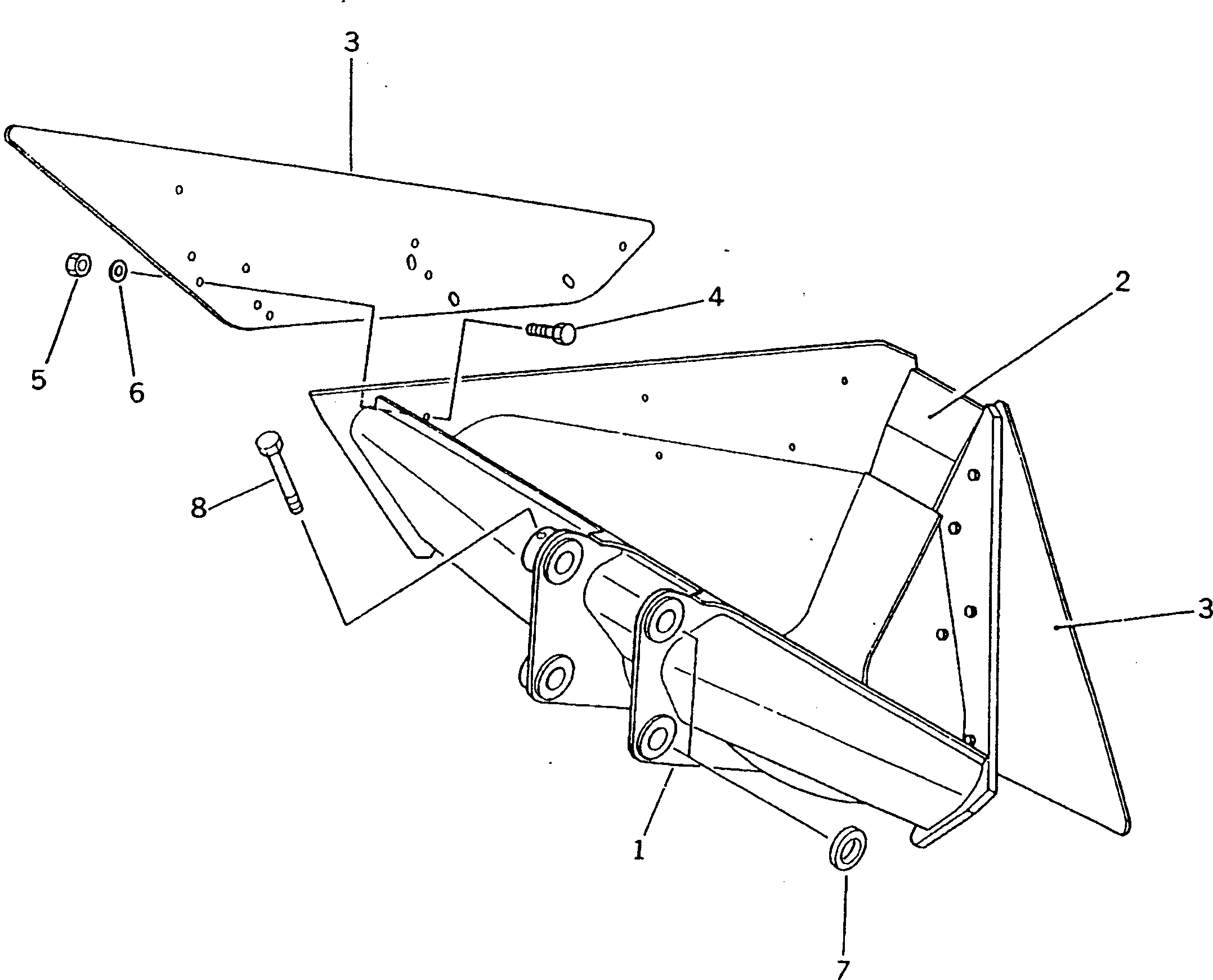
1
2
3
4
5
6
7
8
9
10
11
12
13
14
15
16
17
18
19
20
21
22
23
24
FIT
1:1
100%

Артикул

Название

Примечание

Количество

1

20Y-920-2210

BUCKET

2

20Y-920-1220

PLATE (WELDED)

3

20Y-70-24130

PLATE,L.H. (WELDED)

4

20Y-70-24140

PLATE,R.H. (WELDED)

5

20Y-70-24210

ADAPTER (WELDED)

6

205-70-74272

TOOTH

7

205-70-74281

PIN

8

205-70-74291

LOCK

Выбрано товаров: 0