Запчасти Komatsu PC200-5S РАМА ЧАСТИ КОРПУСА

Схема запчастей Komatsu PC200-5S - РАМА ЧАСТИ КОРПУСА
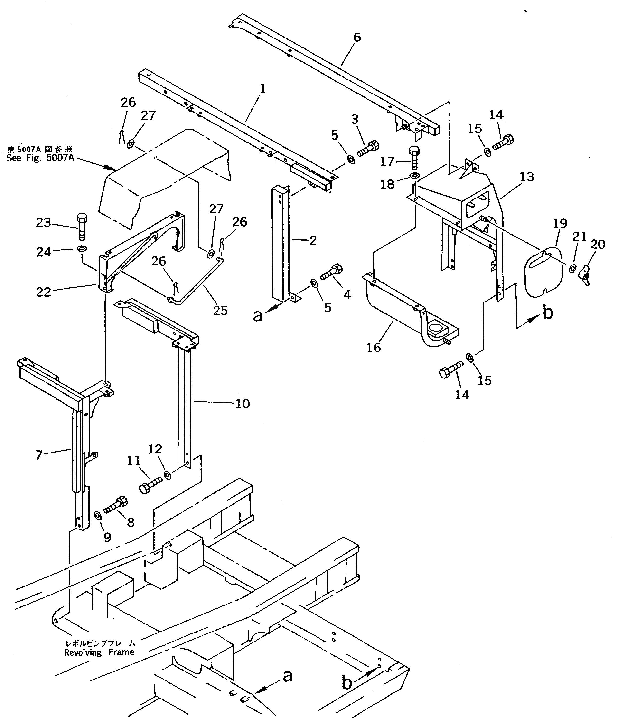
1
2
3
4
5
6
7
8
8
9
10
11
12
13
14
15
16
17
18
19
20
21
FIT
1:1
100%

Артикул

Название

Примечание

Количество

1

20Y-54-22610

FRAME

2

20Y-54-22910

FRAME

3

01010-51230

BOLT

4

01010-51225

BOLT

5

01643-31232

WASHER

6

20Y-54-22540

FRAME

7

20Y-54-22430

FRAME

8

01010-51230

BOLT

9

01643-31232

WASHER

10

20Y-54-22470

FRAME

11

01010-51235

BOLT

12

01643-31232

WASHER

13

20Y-54-16171

COVER

14

01010-51230

BOLT

15

01643-31232

WASHER

16

20Y-54-16141

COVER

17

01010-51230

BOLT

18

01643-31232

WASHER

19

20Y-54-16251

COVER

20

01540-20840

NUT

21

01643-20823

WASHER

22

20Y-54-22420

BRACKET

23

01010-51230

BOLT

24

01643-31232

WASHER

25

20Y-54-15951

BAR

26

04050-13025

PIN

27

01643-31445

WASHER

Выбрано товаров: 27