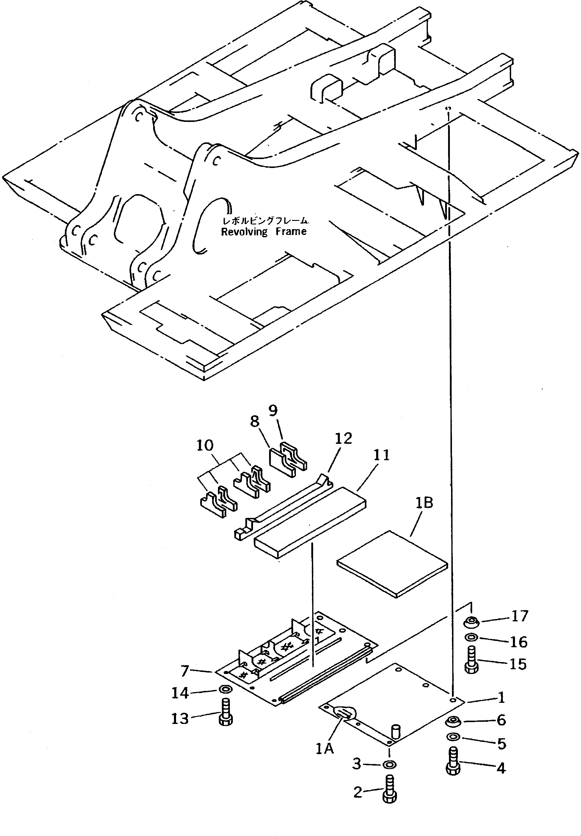
Запчасти Komatsu PC200-5S НИЖН. КРЫШКА (ДЛЯ ОСНОВН. РАМА И РАМА ПРАВ.) ЧАСТИ КОРПУСА

Схема запчастей Komatsu PC200-5S - НИЖН. КРЫШКА (ДЛЯ ОСНОВН. РАМА И РАМА ПРАВ.) ЧАСТИ КОРПУСА
1
2
3
4
5
6
7
8
9
10
FIT
1:1
100%

Артикул

Название

Примечание

Количество

1

20Y-54-15562

COVER

1A

21T-54-14340

HINGE

1B

20Y-54-23150

FELT

2

01010-51230

BOLT

3

01643-31232

WASHER

4

01010-51230

BOLT

5

01643-31232

WASHER

6

20Y-54-19960

COLLAR

7

20Y-54-19810

COVER

8

20Y-54-19830

FELT

9

20Y-54-19820

FELT

10

20Y-54-19841

FELT

11

20Y-54-17280

SHEET

12

20Y-54-12562

SHEET

13

01010-51230

BOLT

14

01643-31232

WASHER

15

01010-51230

BOLT

16

01643-31232

WASHER

17

20Y-54-19960

COLLAR

Выбрано товаров: 19