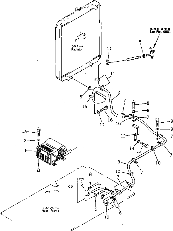
Запчасти Komatsu PC200-5T ОБОГРЕВАТЕЛЬ. И ТРУБЫ (ВЫСОК. ЕМК.) ЧАСТИ КОРПУСА

Схема запчастей Komatsu PC200-5T - ОБОГРЕВАТЕЛЬ. И ТРУБЫ (ВЫСОК. ЕМК.) ЧАСТИ КОРПУСА
FIT
1:1
100%

Артикул

Название

Примечание

Количество

1

208-987-3680

HEATER ASS'Y

1A

01010-51020

BOLT

2

01643-31032

WASHER

3

09483-00442

HOSE

4

09483-00442

HOSE

5

09480-10100

CLAMP

6

20Y-977-1130

GROMMET

7

141-06-11220

CLIP

8

01010-51225

BOLT

9

01643-31232

WASHER

10

08034-00519

BAND

11

08034-00536

BAND

12

20Y-977-1180

BRACKET

13

01010-51225

BOLT

14

01643-31232

WASHER

15

209-04-1940

CLIP

16

01010-51020

BOLT

17

01643-31032

WASHER

Выбрано товаров: 18