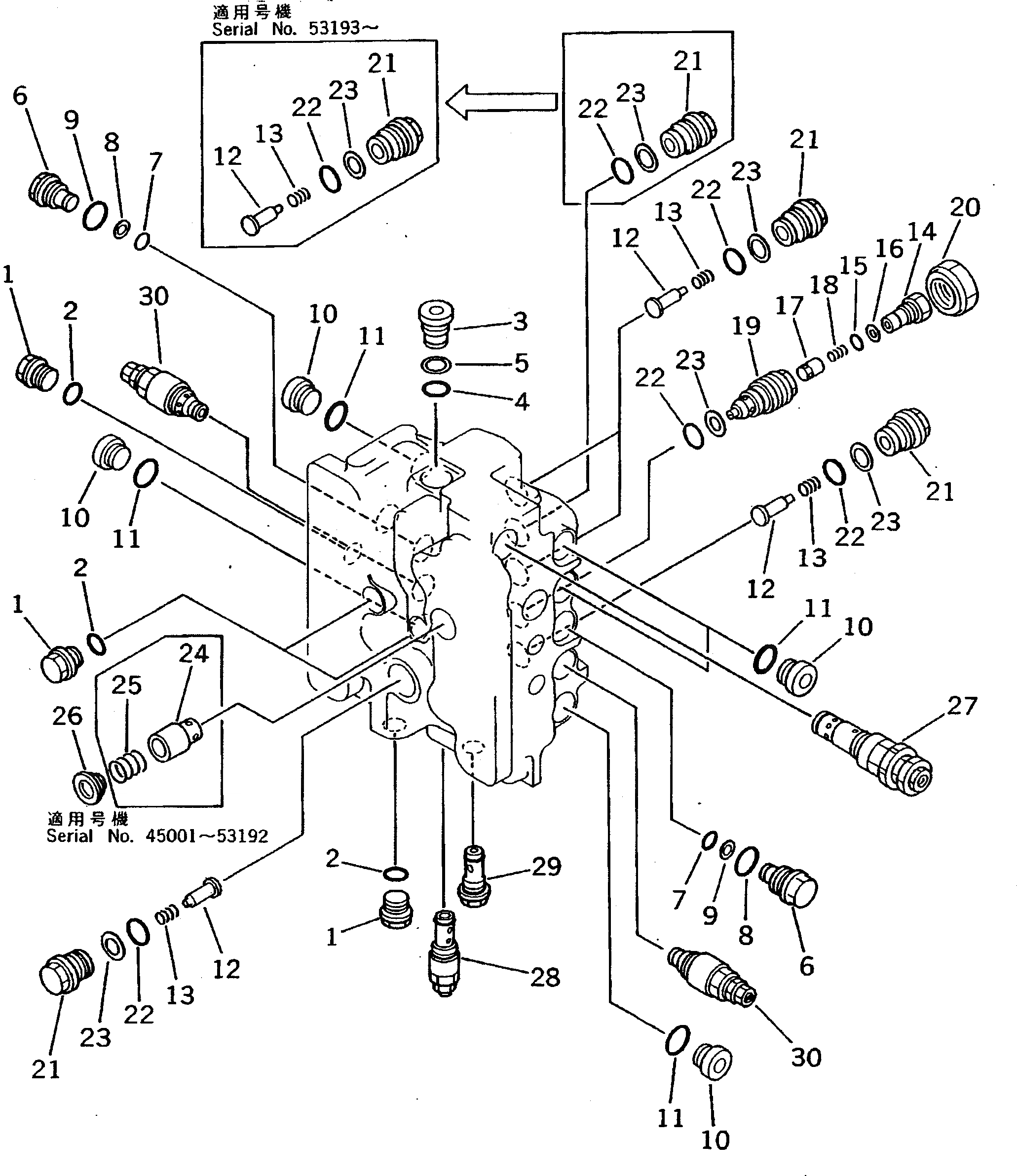
Запчасти Komatsu PC200-5T ГИДРАВЛ УПРАВЛЯЮЩ. КЛАПАН (+) (/7) УПРАВЛ-Е РАБОЧИМ ОБОРУДОВАНИЕМ

Схема запчастей Komatsu PC200-5T - ГИДРАВЛ УПРАВЛЯЮЩ. КЛАПАН (+) (/7) УПРАВЛ-Е РАБОЧИМ ОБОРУДОВАНИЕМ
FIT
1:1
100%

Артикул

Название

Примечание

Количество

|$0

709-79-22303

CONTROL VALVE ASS'Y

|$2

709-75-92600

VALVE ASS'Y

1

709-74-91860

PLUG

2

07002-12434

O-RING

3

709-74-91850

PLUG

4

07000-12018

O-RING

5

07001-02018

RING,BACK-UP

6

709-74-91510

PLUG

7

07000-11009

O-RING

8

07001-01009

RING,BACK-UP

9

709-25-11390

O-RING

10

709-74-91520

PLUG

11

709-25-11390

O-RING

12

709-74-92810

VALVE

13

709-75-92220

SPRING

14

709-74-91820

PLUG

15

07000-12010

O-RING

16

07001-02010

RING,BACK-UP

17

706-73-70140

VALVE,CHECK

18

706-73-70150

SPRING

19

709-74-91810

PLUG

20

709-74-91830

NUT

21

709-74-92821

PLUG

22

700-93-11320

O-RING

23

700-93-11330

RING,BACK-UP

26

709-74-92310

SEAT

27

709-70-51401

VALVE ASS'Y,RELIEF

28

709-70-55200

VALVE ASS'Y,RELIEF

29

709-90-91300

ORIFICE ASS'Y

30

709-70-74103

VALVE ASS'Y,SUCTION AND SAFETY

Выбрано товаров: 30