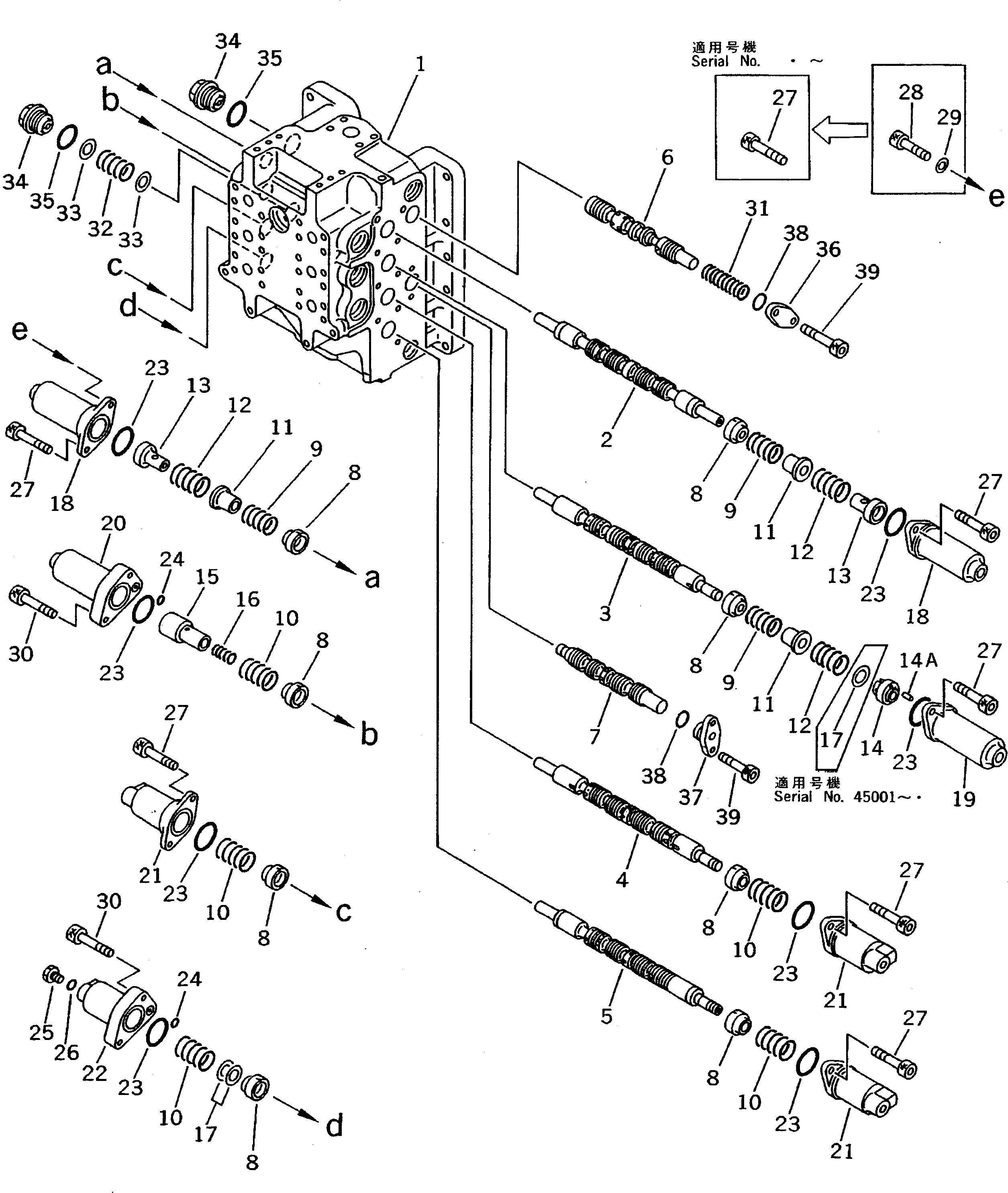
Запчасти Komatsu PC200-5T ГИДРАВЛ УПРАВЛЯЮЩ. КЛАПАН (+) (/7) УПРАВЛ-Е РАБОЧИМ ОБОРУДОВАНИЕМ

Схема запчастей Komatsu PC200-5T - ГИДРАВЛ УПРАВЛЯЮЩ. КЛАПАН (+) (/7) УПРАВЛ-Е РАБОЧИМ ОБОРУДОВАНИЕМ
FIT
1:1
100%

Артикул

Название

Примечание

Количество

|$0

709-79-22303

CONTROL VALVE ASS'Y

|$2

709-74-92602

VALVE ASS'Y

1

BODY,VALVE

2

SPOOL

3

SPOOL

4

SPOOL

5

SPOOL

6

SPOOL

7

SPOOL

8

709-74-92110

RETAINER

9

709-74-91910

SPRING

10

709-74-92180

SPRING

11

709-74-91930

RETAINER

12

709-74-91920

SPRING

13

709-74-91940

RETAINER

14

709-74-91970

SLEEVE

14A

04022-04008

PIN

15

709-74-92420

RETAINER

16

709-74-92430

SPRING

17

709-74-92360

SHIM, 0.5MM

18

709-74-91980

CASE

19

709-74-91980

CASE

20

709-74-92780

CASE

21

709-74-92120

CASE

22

709-74-92140

CASE

23

709-74-92170

O-RING

24

07000-02010

O-RING

25

07040-11409

PLUG

26

07002-01423

O-RING

27

01252-30820

BOLT

28

01252-30825

BOLT

29

01643-50823

WASHER

30

01252-30830

BOLT

31

709-74-92190

SPRING

32

709-74-92210

SPRING

33

709-74-92270

WASHER

34

709-74-92220

PLUG

35

07002-03034

O-RING

36

709-74-92250

PLATE

37

709-74-92240

PLATE

38

07000-02018

O-RING

39

01252-30820

BOLT

Выбрано товаров: 42