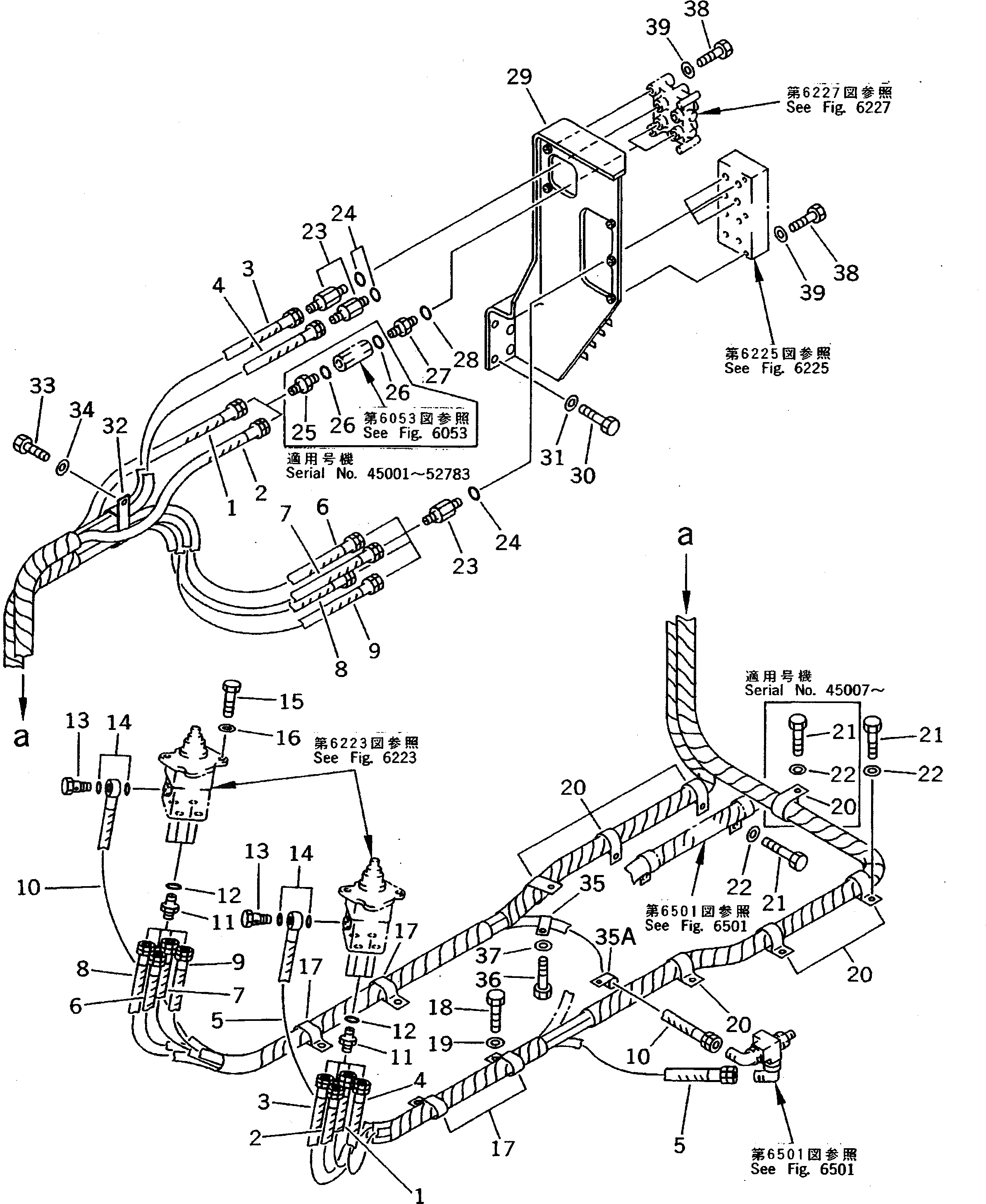
Запчасти Komatsu PC200-5X КЛАПАН PPCТРУБЫ (ЛЕВ.¤ ПРАВ. КЛАПАН PPCTO/FROM РАСПРЕДЕЛИТ. КЛАПАН)(ДЛЯ УДЛИНН. РЫЧАГ УПРАВЛ-Е) УПРАВЛ-Е РАБОЧИМ ОБОРУДОВАНИЕМ

Схема запчастей Komatsu PC200-5X - КЛАПАН PPCТРУБЫ (ЛЕВ.¤ ПРАВ. КЛАПАН PPCTO/FROM РАСПРЕДЕЛИТ. КЛАПАН)  (ДЛЯ УДЛИНН. РЫЧАГ УПРАВЛ-Е) УПРАВЛ-Е РАБОЧИМ ОБОРУДОВАНИЕМ
FIT
1:1
100%

Артикул

Название

Примечание

Количество

G-1

20Y-62-X1301

PIPING GROUP

1

20Y-62-17810

HOSE,(YELLOW)

|1

20Y-62-17520

HOSE,(YELLOW)

2

20Y-62-17810

HOSE,(WHITE)

|2

20Y-62-15720

HOSE,(WHITE)

3

07102-20331

HOSE,(BROWN)

4

07102-20331

HOSE,(BLACK)

5

20Y-62-17510

HOSE,(RED)

6

07102-20327

HOSE,(WHITE)

7

07102-20327

HOSE,(YELLOW)

8

20Y-62-17550

HOSE,(BLACK)

9

20Y-62-17550

HOSE,(BROWN)

10

20Y-62-17540

HOSE,(RED)

11

205-62-55270

NIPPLE

12

07002-01423

O-RING

13

706-46-56290

BOLT

14

07000-02018

O-RING

15

01010-50825

BOLT

16

01643-30823

WASHER

17

20Y-62-15891

CLIP

18

01010-51225

BOLT

19

01643-31232

WASHER

20

20Y-62-15951

CLIP

21

01010-51225

BOLT

22

01643-31232

WASHER

23

207-62-33950

NIPPLE

24

07002-01423

O-RING

25

07230-20315

UNION

26

07002-02034

O-RING

27

207-62-33950

NIPPLE

|27

20Y-62-17450

NIPPLE

28

07002-01423

O-RING

29

20Y-62-15631

BRACKET

30

01010-51235

BOLT

31

01643-31232

WASHER

32

20Y-62-15971

CLIP

33

01010-51225

BOLT

34

01643-31232

WASHER

35

08035-01512

CLIP

|35

08036-21414

CLIP

35A

08036-21414

CLIP

36

01010-51220

BOLT

37

01643-31232

WASHER

38

01010-51075

BOLT

39

01643-31032

WASHER

Выбрано товаров: 45