Запчасти Komatsu PC200-5X КОВШ-РЫХЛИТЕЛЬ¤ .M¤ 9MM РАБОЧЕЕ ОБОРУДОВАНИЕ

Схема запчастей Komatsu PC200-5X - КОВШ-РЫХЛИТЕЛЬ¤ .M¤ 9MM РАБОЧЕЕ ОБОРУДОВАНИЕ
FIT
1:1
100%

Артикул

Название

Примечание

Количество

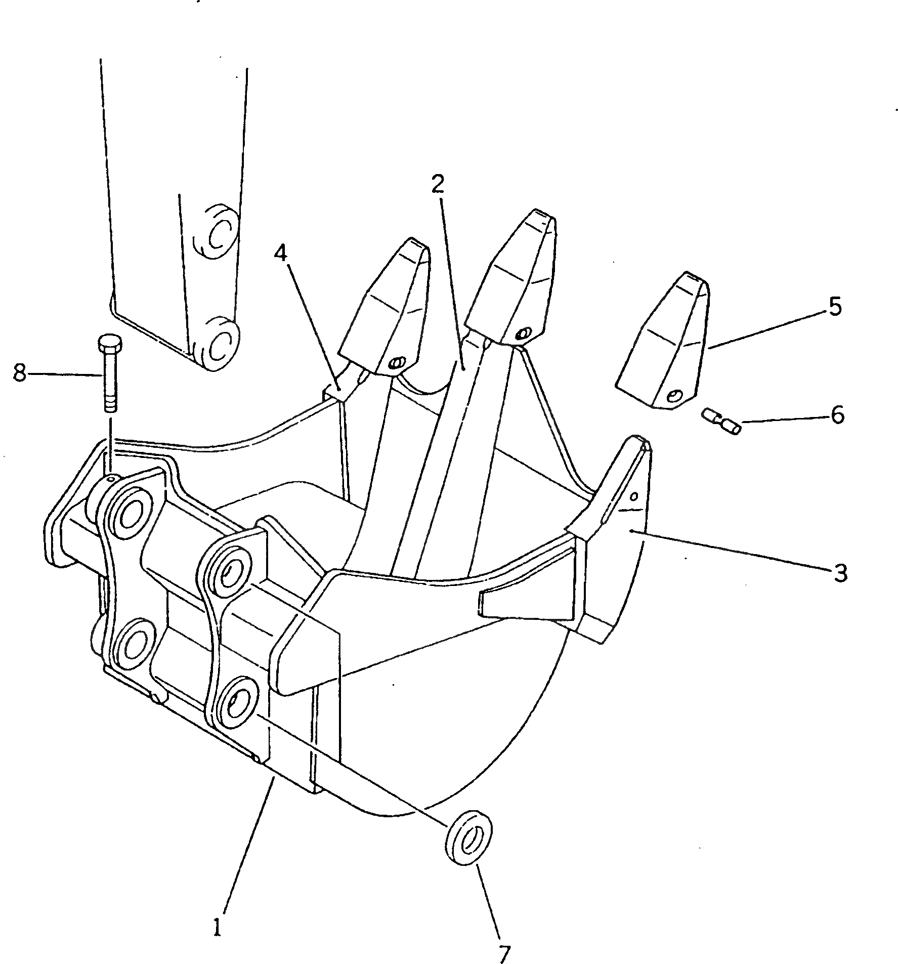
G-1

205-922-X101

BUCKET GROUP

1

205-922-6210

BUCKET

2

205-922-1120

SHANK (WELDED)

3

205-922-1130

ADAPTER,L.H. (WELDED)

4

205-922-1140

ADAPTER,R.H. (WELDED)

5

175-78-31230

POINT

6

09244-02508

PIN

7

205-70-74410

COLLAR

8

205-70-73190

BOLT

Выбрано товаров: 0