Запчасти Komatsu PC200-5X ПРАВ. СТОЙКА И РЫЧАГ (ЗАДН. ) (ДЛЯ WRIST УПРАВЛ-Е) СИСТЕМА УПРАВЛЕНИЯ И ОСНОВНАЯ РАМА

Схема запчастей Komatsu PC200-5X - ПРАВ. СТОЙКА И РЫЧАГ (ЗАДН. ) (ДЛЯ WRIST УПРАВЛ-Е) СИСТЕМА УПРАВЛЕНИЯ И ОСНОВНАЯ РАМА
FIT
1:1
100%

Артикул

Название

Примечание

Количество

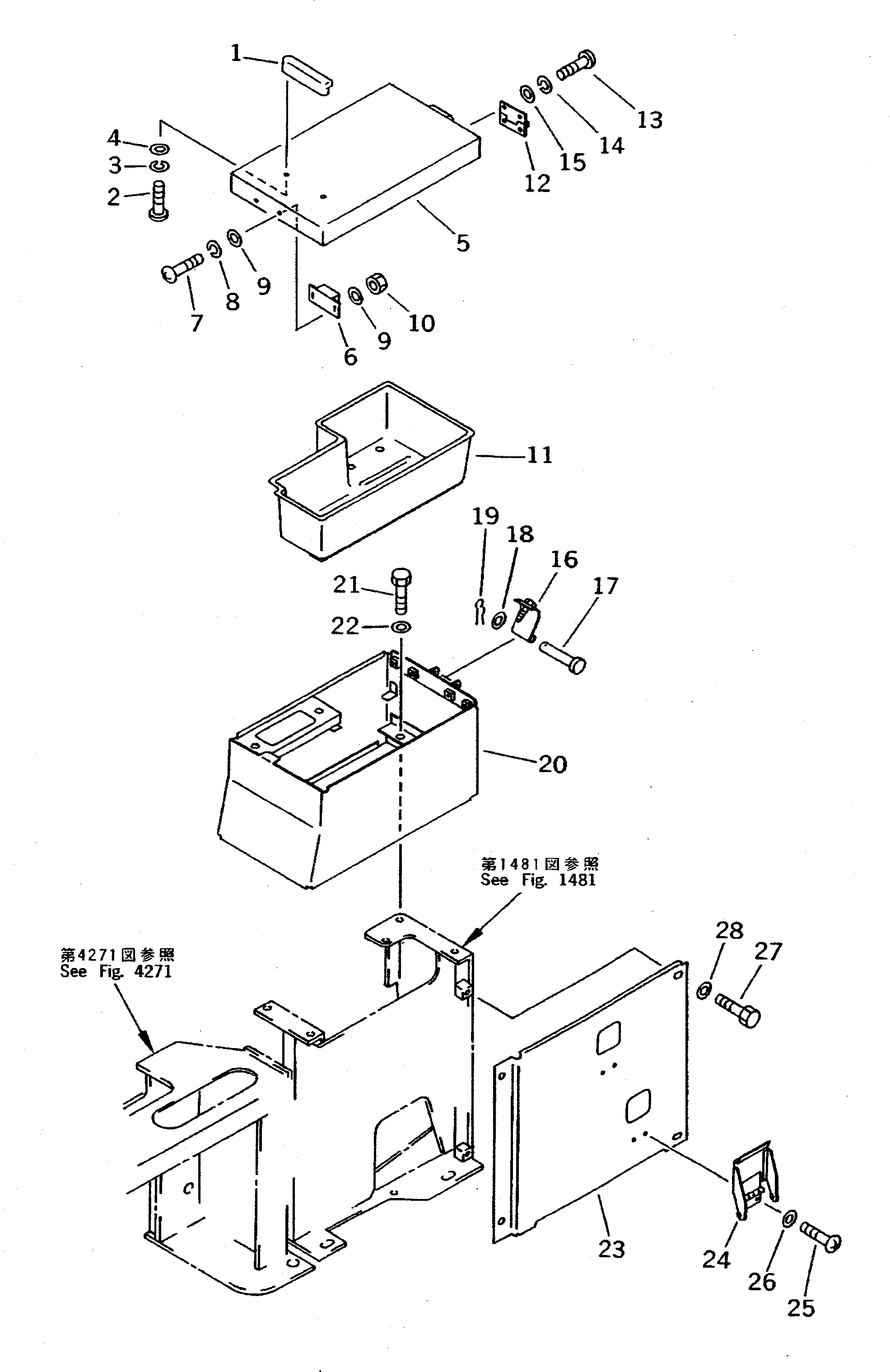
1

20Y-06-16330

HANDLE

2

01220-40510

SCREW

3

01601-20513

WASHER,SPRING

4

01641-20508

WASHER

5

20Y-06-16321

COVER

6

09452-14503

CATCHER

7

01220-40310

SCREW

8

01601-20307

WASHER,SPRING

9

01641-20508

WASHER

10

01580-10302

NUT

11

20Y-06-16341

TRAY

12

20Y-06-16350

HINGE

13

01220-40510

SCREW

14

01601-20513

WASHER,SPRING

15

01641-20508

WASHER

16

20Y-06-16580

SPRING

17

234-820-1210

PIN

18

04052-10530

PIN,SNAP

19

01641-20812

WASHER

20

20Y-06-16710

BOX

21

01010-50820

BOLT

22

01643-30823

WASHER

23

20Y-06-16271

COVER

24

20Y-43-16250

COVER

25

01220-40408

SCREW

26

01641-20405

WASHER

27

01010-50820

BOLT

28

01643-30823

WASHER

Выбрано товаров: 28