Запчасти Komatsu PC200-5X ПРАВ. COVER ЧАСТИ КОРПУСА

Схема запчастей Komatsu PC200-5X - ПРАВ. COVER ЧАСТИ КОРПУСА
FIT
1:1
100%

Артикул

Название

Примечание

Количество

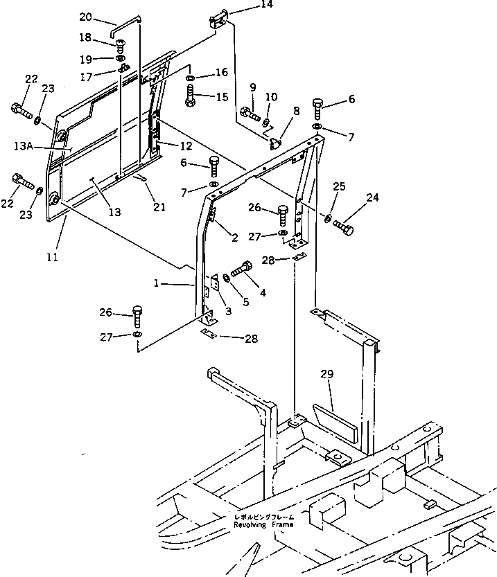
1

20Y-54-12222

FRAME

2

20Y-54-12960

BRACKET

3

20Y-54-12930

BRACKET

4

01010-51230

BOLT

5

01643-31232

WASHER

6

01010-51230

BOLT

7

01643-31232

WASHER

8

20Y-54-12920

CLAMP

9

01010-51020

BOLT

10

01643-31032

WASHER

11

20Y-54-12123

DOOR PAINT (2)

12

20Y-54-12750

HINGE (WELDED)

13

20Y-54-12354

SHEET

13A

20Y-54-12361

SHEET

14

207-54-31870

BRACKET

15

01010-51020

BOLT

16

01643-31032

WASHER

17

20B-54-12210

SPRING

18

01220-40408

SCREW

19

01641-20405

WASHER

20

205-54-64140

BAR

21

04050-13018

PIN,COTTER

22

01010-51225

BOLT

23

01643-31232

WASHER

24

01010-51225

BOLT

25

20Y-54-12670

WASHER

26

01010-51230

BOLT

27

01643-31232

WASHER

28

20Y-54-12690

PLATE¤ 1.0MM

29

20Y-54-16470

SHEET

Выбрано товаров: 30