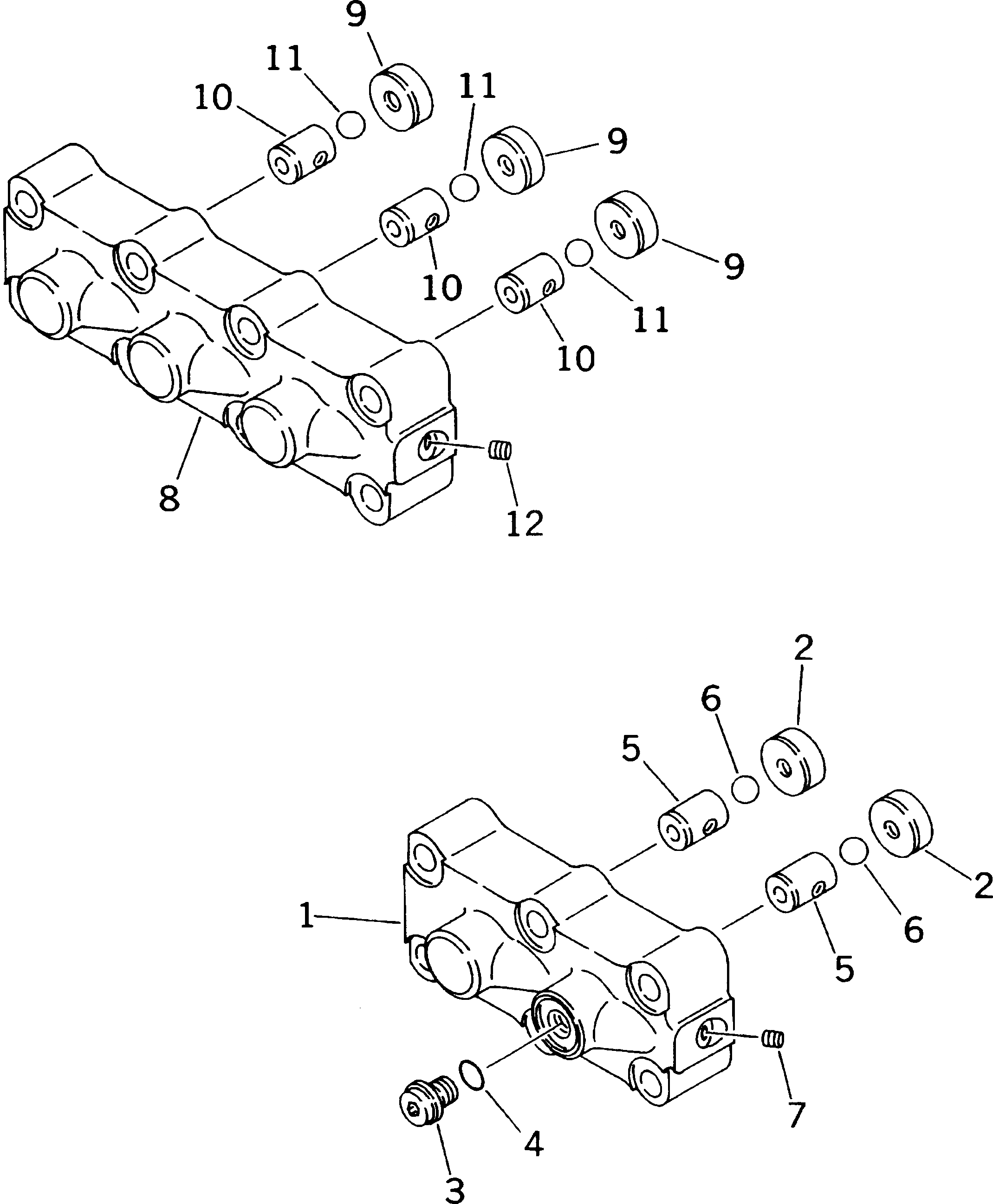
Запчасти Komatsu PC200-6 ОСНОВН. КЛАПАН (-АКТУАТОР) (/)(№88-89798) ОСНОВН. КОМПОНЕНТЫ И РЕМКОМПЛЕКТЫ

Схема запчастей Komatsu PC200-6 - ОСНОВН. КЛАПАН (-АКТУАТОР) (/)(№88-89798) ОСНОВН. КОМПОНЕНТЫ И РЕМКОМПЛЕКТЫ
FIT
1:1
100%

Артикул

Название

Примечание

Количество

|$1

723-48-12100

VALVE ASS'Y

|$3

723-40-66100

VALVE ASS'Y

1

CASE

2

SEAT

3

708-8E-16160

PLUG

4

07002-11023

O-RING

5

SEAT

6

BALL

7

PLUG

|$11

723-40-66200

VALVE ASS'Y

8

CASE

9

SEAT

10

SEAT

11

BALL

12

PLUG

Выбрано товаров: 15