Запчасти Komatsu PC200-6 КАБИНА (ОСНОВ.) (РЫЧАГ С КЛАПАНОМ PPC) (ЭЛЕКТРИЧ. РЕГУЛЯТОР)(№8-899) КАБИНА ОПЕРАТОРА И СИСТЕМА УПРАВЛЕНИЯ

Схема запчастей Komatsu PC200-6 - КАБИНА (ОСНОВ.) (РЫЧАГ С КЛАПАНОМ PPC) (ЭЛЕКТРИЧ. РЕГУЛЯТОР)(№8-899) КАБИНА ОПЕРАТОРА И СИСТЕМА УПРАВЛЕНИЯ
FIT
1:1
100%

Артикул

Название

Примечание

Количество

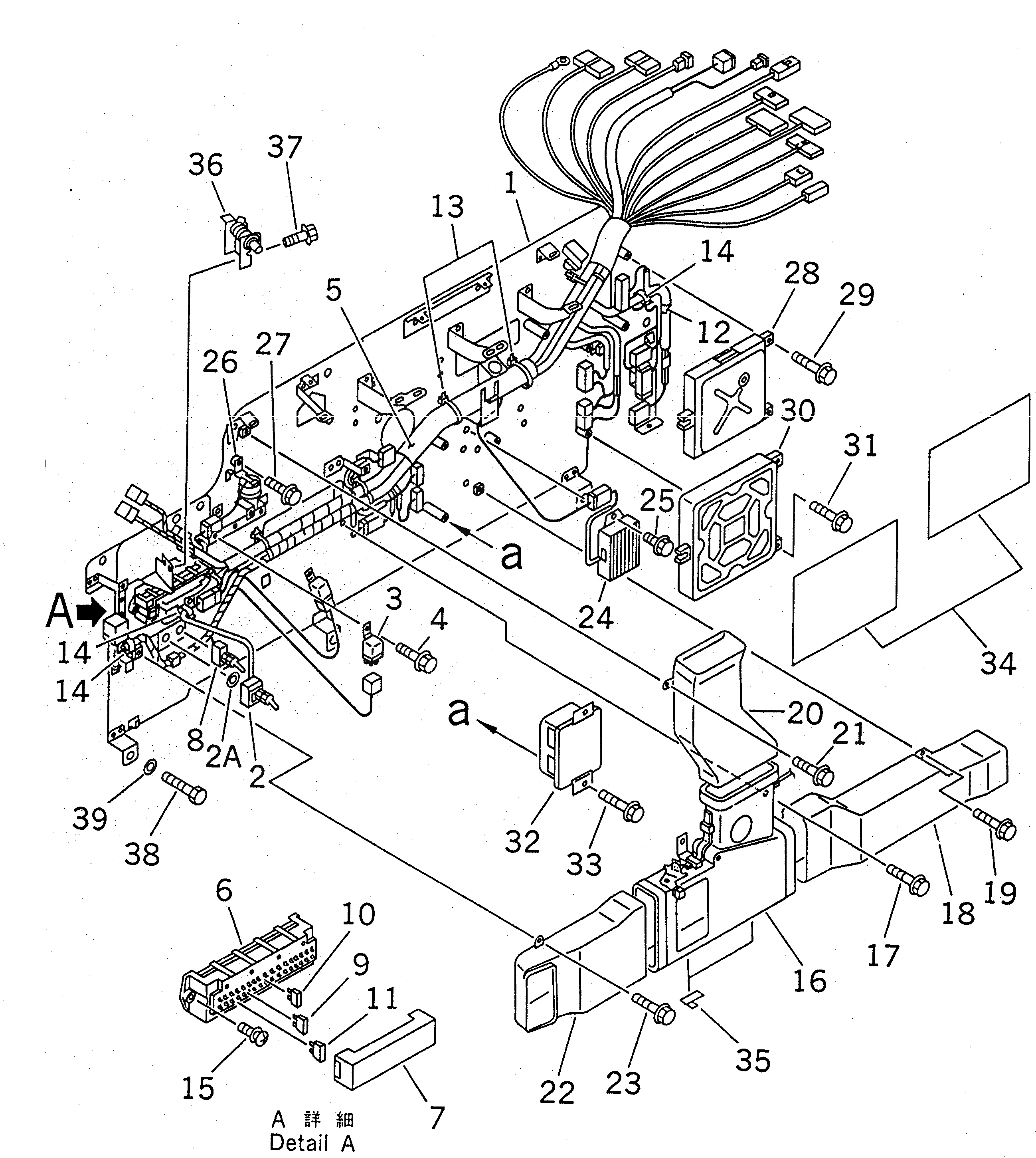
1

20Y-06-23312

BASE

2

20Y-06-24120

SWITCH ASS'Y

2A

01641-21223

WASHER

3

569-06-61960

RELAY

4

01435-00610

BOLT

5

20Y-06-23980

HARNESS ASS'Y

6

283-06-16110

BOX

7

195-Z11-2290

COVER

8

20Y-06-24130

SWITCH

9

283-06-16190

FUSE¤ 10A

10

205-06-73180

FUSE¤ 15A

11

22W-06-13160

FUSE¤ 20A

12

20Y-06-24270

CLIP

13

20Y-06-21460

CLIP

14

20Y-06-23960

CLIP

15

01023-10625

SCREW

16

20Y-979-2130

BOX ASS'Y,(SEE FIG. Y1979-61A0)

17

01435-01016

BOLT

18

20Y-979-2221

DUCT

19

01435-00610

BOLT

20

20Y-979-2231

DUCT

21

01435-00610

BOLT

22

20Y-979-2242

DUCT

23

01435-00610

BOLT

24

7827-10-1520

RESISTOR¤ 15OHM

25

01435-00820

BOLT

26

203-06-56230

BUZZER ASS'Y

27

01435-00610

BOLT

28

7834-30-2000

CONTROLLER

29

01435-00630

BOLT

30

7834-10-2003

CONTROLLER,PUMP

|30

7834-10-2002

CONTROLLER,PUMP

|30

7834-10-2001

CONTROLLER,PUMP

|30

7834-10-2000

CONTROLLER,PUMP

31

01435-00630

BOLT

32

20Y-06-24410

CONTROLLER,WIPER (WITHOUT CPU)

|32

20Y-06-23640

CONTROLLER,WIPER (WITH CPU)

33

01435-00630

BOLT

34

20Y-06-24220

SHEET

35

08051-00801

CLIP

36

20Y-06-23521

LOCK

37

01435-00820

BOLT

38

01010-51020

BOLT

39

01643-31032

WASHER

Выбрано товаров: 44