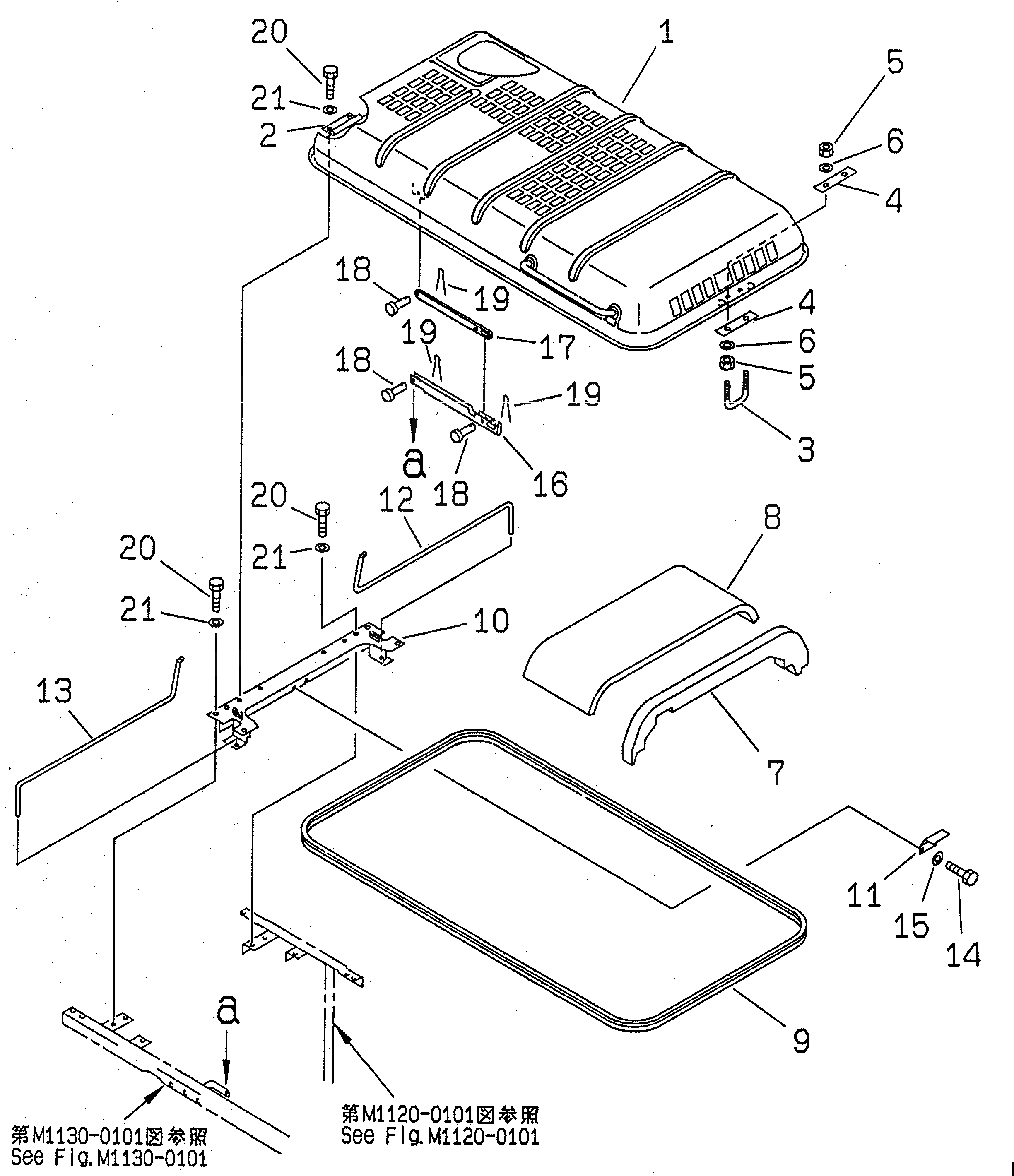
Запчасти Komatsu PC200-6 КАПОТ(№8-9998) ЧАСТИ КОРПУСА

Схема запчастей Komatsu PC200-6 - КАПОТ(№8-9998) ЧАСТИ КОРПУСА
FIT
1:1
100%

Артикул

Название

Примечание

Количество

1

20Y-54-27113

HOOD

2

20Y-54-27123

HINGE (WELDED)

3

20Y-54-27172

U-BOLT

4

20Y-54-27330

PLATE

5

01580-11210

NUT

|5

01580-01210

NUT

6

01643-31232

WASHER

7

20Y-54-27242

SHEET

8

20Y-54-27261

SHEET

9

20Y-54-29290

SEAL

10

20Y-54-27323

FRAME

|10

20Y-54-27322

FRAME

11

20Y-54-27360

BRACKET

12

20Y-54-27141

SPRING

13

20Y-54-27131

SPRING

14

01010-51225

BOLT

15

01643-31232

WASHER

16

20Y-54-27370

STAY

17

20Y-54-27290

STAY

18

04205-11230

PIN

19

04050-13022

PIN

20

01010-51230

BOLT

21

01643-31232

WASHER

Выбрано товаров: 23