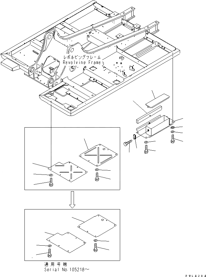
Запчасти Komatsu PC200-6 НИЖН. КРЫШКА (ОСНОВНАЯ РАМА) (ЛЕВ. КРЫШКАAND ЯЩИК Д/ИНСТРУМЕНТА)(№9-) ЧАСТИ КОРПУСА

Схема запчастей Komatsu PC200-6 - НИЖН. КРЫШКА (ОСНОВНАЯ РАМА) (ЛЕВ. КРЫШКАAND ЯЩИК Д/ИНСТРУМЕНТА)(№9-) ЧАСТИ КОРПУСА
1
1
2
2
3
3
3
3
4
4
4
4
5
6
7
8
9
10
11
12
13
14
FIT
1:1
100%

Артикул

Название

Примечание

Количество

1

20Y-54-26242

COVER

2

20Y-54-26251

COVER

3

01010-81235

BOLT

4

01643-31232

WASHER

5

20Y-54-28543

COVER

6

20Y-54-28672

SHEET

7

20Y-54-28611

COVER

8

195-57-11530

CATCHER

9

01016-20512

BOLT

10

01010-81230

BOLT

11

01643-31232

WASHER

12

01010-81230

BOLT

13

01643-31232

WASHER

14

20Y-54-12550

COLLAR

Выбрано товаров: 14