Запчасти Komatsu PC200-6 МАРКИРОВКА (MULTI PATTERN) (ЯПОН.)(№8-9988) МАРКИРОВКА

Схема запчастей Komatsu PC200-6 - МАРКИРОВКА (MULTI PATTERN) (ЯПОН.)(№8-9988) МАРКИРОВКА
FIT
1:1
100%

Артикул

Название

Примечание

Количество

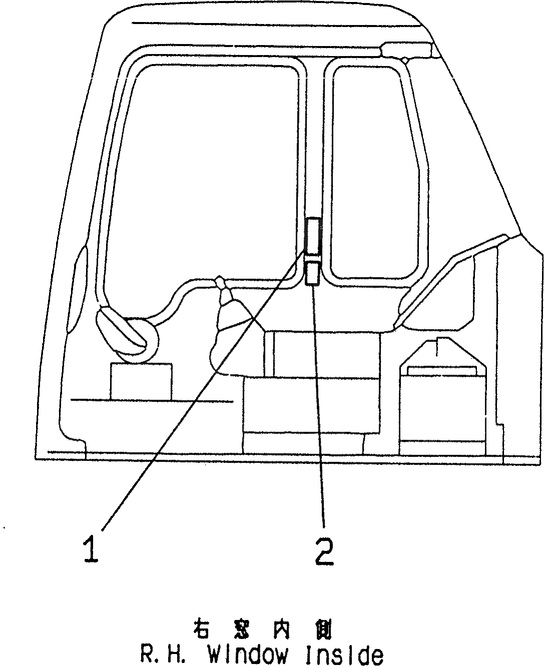
1

20Y-62-23870

PLATE¤ OPERATING

2

20Y-00-11310

PLATE¤ OPERATING,(KOMATSU PATTERN)

|2

203-916-5130

PLATE¤ OPERATING,(MITSUBISHI PATTERN)

|2

203-916-5150

PLATE¤ OPERATING,(SHINKOU PATTERN)

Выбрано товаров: 4