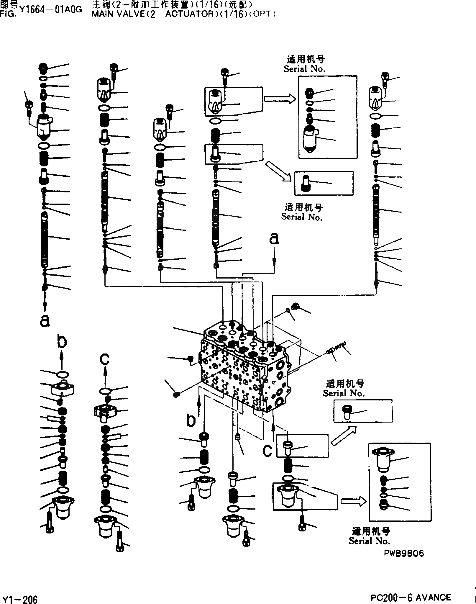
Запчасти Komatsu PC200-6 ОСНОВН. КЛАПАН(-ACYUAYOR)(/)(ОПЦИОНН.) Y [SERVICE KOT]

Схема запчастей Komatsu PC200-6 - ОСНОВН. КЛАПАН(-ACYUAYOR)(/)(ОПЦИОНН.) Y [SERVICE KOT]
46
27
28
30
29
26
24
45
25
17
7
10
15
4
15
10
8
46
33
45
21
16
7
10
15
2
15
14
13
12
11
9
10
3
10
9
16
23
45
33
46
33
46
45
22
7
10
15
5
15
10
7
16
27
28
30
32
31
20
46
33
45
23
16
7
10
15
6
15
14
13
12
11
52
53
51
50
20
31
32
30
28
27
16
22
45
33
46
16
49
23
45
33
46
1
49
49
18
22
45
33
46
45
44
39
40
43
41
43
42
48
19
21
45
33
47
45
34
38
35
37
35
37
36
19
21
45
33
47
48
FIT
1:1
100%

Артикул

Название

Примечание

Количество

|$1

723-48-13701

CONTROLVALVEASS'Y

|$3

BODYASS'Y

1

BLOCKVALVE

2

SPOOL

3

SPOOL

4

SPOOL

5

SPOOL

6

SPOOL

7

PLUG

8

723-46-15650

PLUG

9

723-46-15140

PLUG

10

07002-10823

O-RING

11

723-46-16171

PLUG

12

07002-11023

O-RING

13

07000-11005

O-RING

14

07001-01005

RING,BACK-UP

15

708-7T-16460

BALL

16

723-46-15120

RETAINER

17

723-46-15620

RETAINER

18

723-46-15880

RETAINER

19

723-46-16160

RETAINER

20

723-46-15690

RETAINER

21

723-46-14110

SPRING

22

723-46-14170

SPRING

23

723-46-14131

SPRING

24

723-46-15610

CASE

25

723-46-14210

SPRING

26

723-46-14220

SPRING

27

723-46-15630

PLUG

28

709-25-11390

O-RING

29

723-46-15640

PISTON

30

702-73-11510

SEAL

31

723-46-15770

CASE

32

723-46-15670

PISTON

33

723-46-15110

CASE

|$37

723-46-00710

CASEASS'Y

34

723-46-16110

CAS

35

723-46-16130

PISTO

36

723-46-16152

PISTO

37

723-46-16180

SEA

38

702-16-54490

SCRE

|$43

723-46-00720

CASEASS'Y

39

723-46-16110

CAS

40

723-46-16120

PISTO

41

723-46-16140

PISTO

42

723-46-16152

PISTO

43

723-46-16180

SEA

44

702-16-54490

SCRE

45

07430-71380

O-RING

46

01252-60820

BOLT

47

01252-06860

BOLT

48

723-46-16190

NUT

49

706-86-51180

PLUG

50

723-46-15150

VALVE

51

723-46-14150

SPRING

52

708-8H-11530

PLUG

53

07002-11423

O-RING

Выбрано товаров: 57