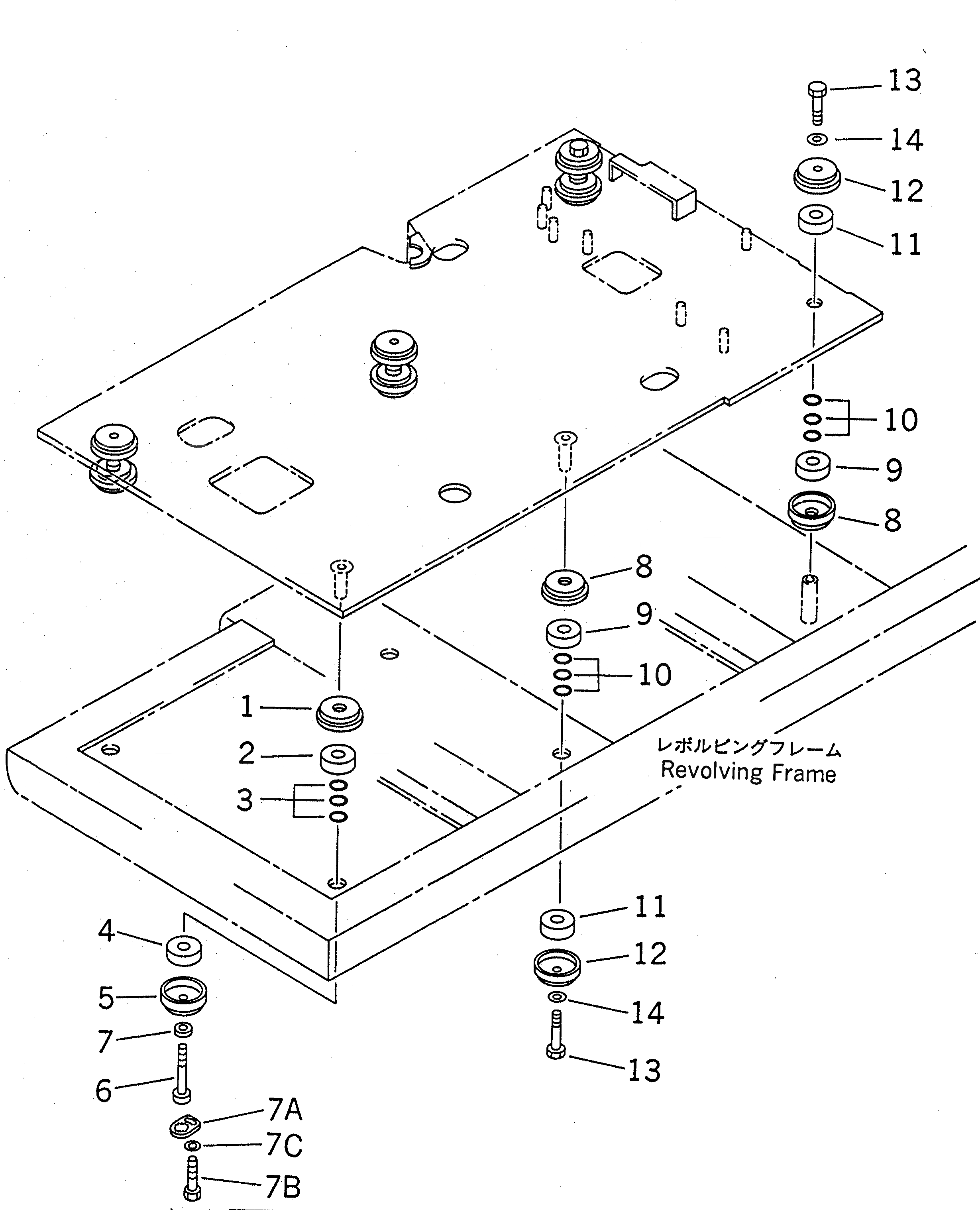
Запчасти Komatsu PC200-6H НИЖН. КРЕПЛЕНИЕ (ОСНОВН. КОНСТРУКЦИЯ)(№8-899) КАБИНА ОПЕРАТОРА И СИСТЕМА УПРАВЛЕНИЯ

Схема запчастей Komatsu PC200-6H - НИЖН. КРЕПЛЕНИЕ (ОСНОВН. КОНСТРУКЦИЯ)(№8-899) КАБИНА ОПЕРАТОРА И СИСТЕМА УПРАВЛЕНИЯ
FIT
1:1
100%

Артикул

Название

Примечание

Количество

1

20Y-54-36540

CAP

2

20Y-54-14430

CUSHION

3

07000-13025

O-RING

4

20Y-54-14430

CUSHION

5

20Y-54-13991

CAP

6

22W-75-16460

BOLT

7

22W-43-17320

WASHER

7A

20Y-54-36440

LOCK

7B

01010-50816

BOLT

7C

01643-30823

WASHER

8

20Y-54-36540

CAP

9

20Y-54-14430

CUSHION

10

07000-13025

O-RING

11

20Y-54-14430

CUSHION

12

20Y-54-13751

CAP

13

01010-51685

BOLT

14

01643-31645

WASHER

Выбрано товаров: 17