Запчасти Komatsu PC200-6H КАПОТ(№8-9998) ЧАСТИ КОРПУСА

Схема запчастей Komatsu PC200-6H - КАПОТ(№8-9998) ЧАСТИ КОРПУСА
FIT
1:1
100%

Артикул

Название

Примечание

Количество

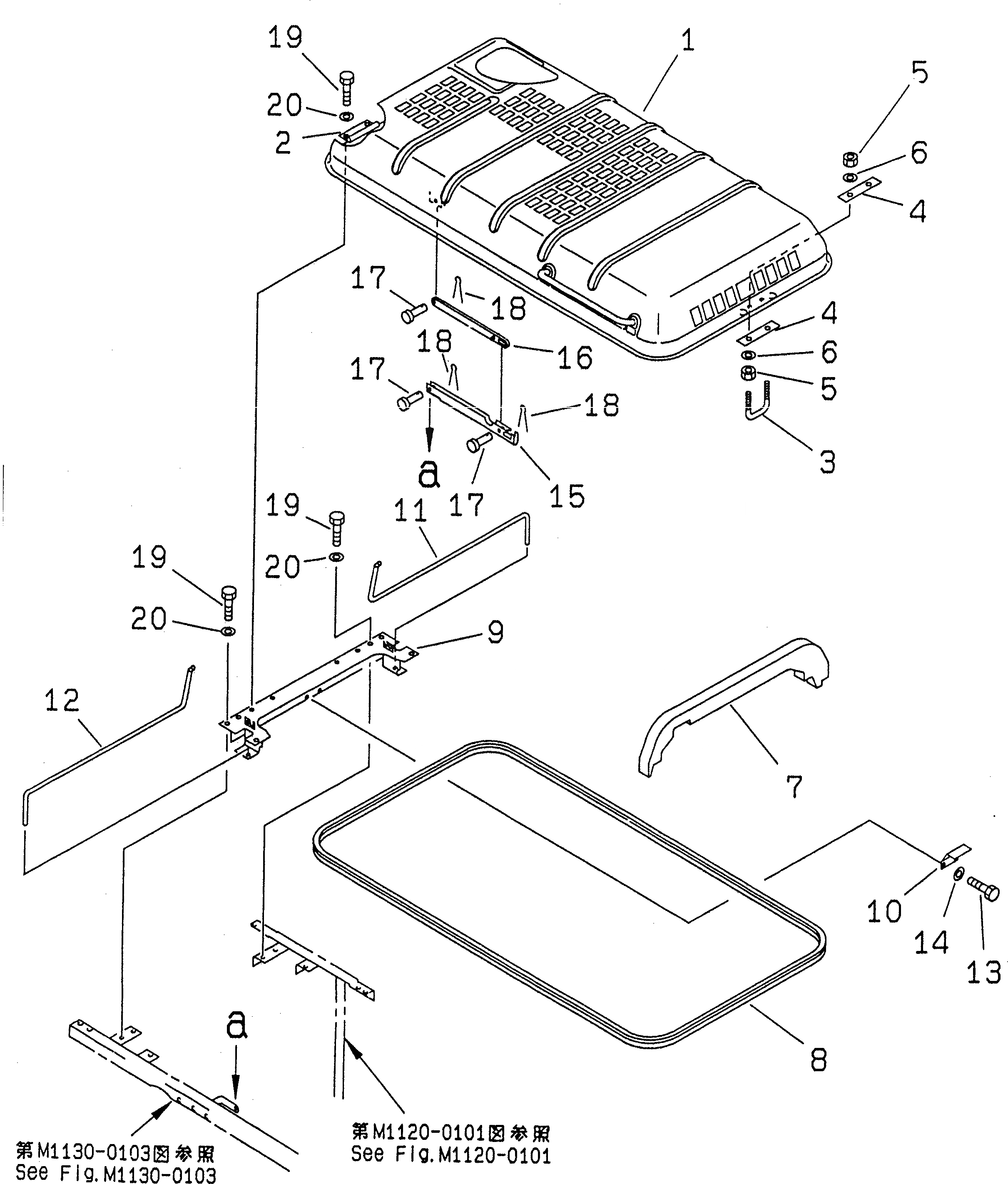
1

20Y-54-27113

HOOD

2

20Y-54-27123

HINGE (WELDED)

3

20Y-54-27172

U-BOLT

4

20Y-54-27330

PLATE

5

01580-11210

NUT

5

01580-01210

NUT

6

01643-31232

WASHER

7

20Y-54-27242

SHEET

8

20Y-54-29290

SEAL

9

20Y-54-27323

FRAME

9

20Y-54-27322

FRAME

10

20Y-54-27360

BRACKET

11

20Y-54-27141

SPRING

12

20Y-54-27131

SPRING

13

01010-51225

BOLT

14

01643-31232

WASHER

15

20Y-54-27370

STAY

16

20Y-54-27290

STAY

17

04205-11230

PIN

18

04050-13022

PIN

19

01010-51230

BOLT

20

01643-31232

WASHER

Выбрано товаров: 22