Запчасти Komatsu PC200-6H КАБИНА (ОСНОВ.) (РАБОЧ. РЫЧАГ С КЛАПАН EPC) (POWER СДВИГ. ВВЕРХ ОКНА)(№88-9998) КАБИНА ОПЕРАТОРА И СИСТЕМА УПРАВЛЕНИЯ

Схема запчастей Komatsu PC200-6H - КАБИНА (ОСНОВ.) (РАБОЧ. РЫЧАГ С КЛАПАН EPC) (POWER СДВИГ. ВВЕРХ ОКНА)(№88-9998) КАБИНА ОПЕРАТОРА И СИСТЕМА УПРАВЛЕНИЯ
FIT
1:1
100%

Артикул

Название

Примечание

Количество

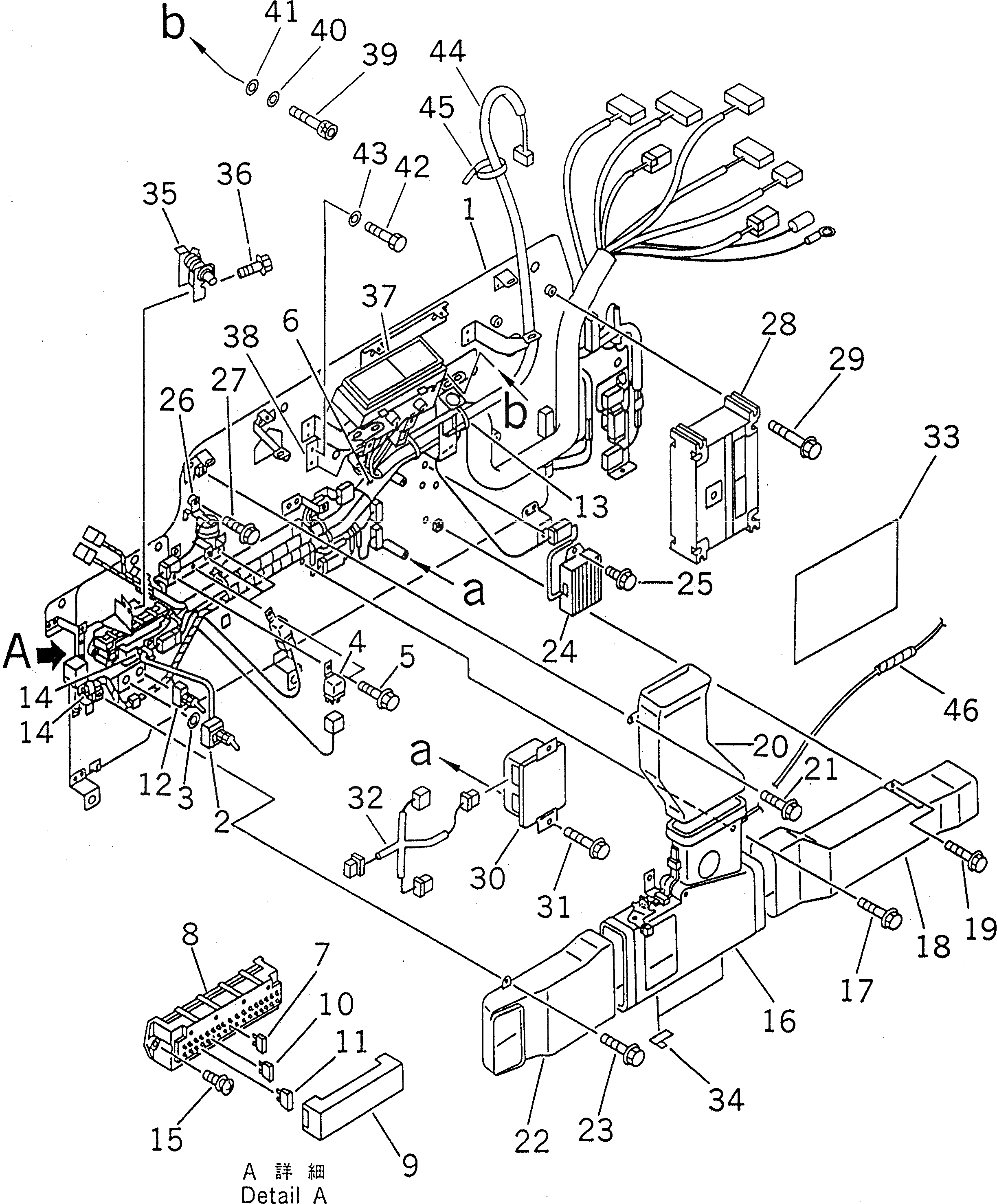
1

207-06-61510

BASE

2

20Y-06-24120

SWITCH ASS'Y

3

01641-21223

WASHER

4

569-06-61960

RELAY

5

01435-00610

BOLT

6

20Y-06-21272

WIRING HARNESS

|6

20Y-06-21271

WIRING HARNESS

7

205-06-73180

FUSE¤ 15A

8

283-06-16110

BOX

9

195-Z11-2290

COVER

10

283-06-16190

FUSE¤ 10A

11

22W-06-13160

FUSE¤ 20A

12

20Y-06-24130

SWITCH

13

20Y-06-21460

CLIP

14

20Y-06-23960

CLIP

15

01023-10625

SCREW

16

20Y-979-2130

BOX ASS'Y,(SEE FIG. Y1979-61A0)

17

01435-01016

BOLT

18

20Y-979-2221

DUCT

19

01435-00610

BOLT

20

20Y-979-2231

DUCT

21

01435-00610

BOLT

22

20Y-979-2242

DUCT

23

01435-00610

BOLT

24

7827-10-1520

RESISTOR¤ 15OHM

25

01435-00820

BOLT

26

203-06-56230

BUZZER ASS'Y

27

01435-00610

BOLT

28

7834-21-4000

CONTROLLER,GOVERNOR

|28

7834-21-2000

CONTROLLER,GOVERNOR

29

01435-00880

BOLT

30

20Y-06-24420

CONTROLLER,WIPER

31

01435-00630

BOLT

32

20Y-06-24110

WIRING HARNESS

33

20Y-06-24220

SHEET

34

08051-00801

CLIP

35

20Y-06-23521

LOCK

36

01435-00820

BOLT

37

7834-87-2000

PANEL

38

20Y-06-24141

BRACKET

39

01252-40410

BOLT

40

01601-20410

WASHER

41

01641-20405

WASHER

42

01010-50614

BOLT

43

01643-30623

WASHER

44

20Y-06-21232

WIRING HARNESS

|44

20Y-06-21231

WIRING HARNESS

45

08034-00519

BAND

46

08017-30701

CONDUIT

Выбрано товаров: 49