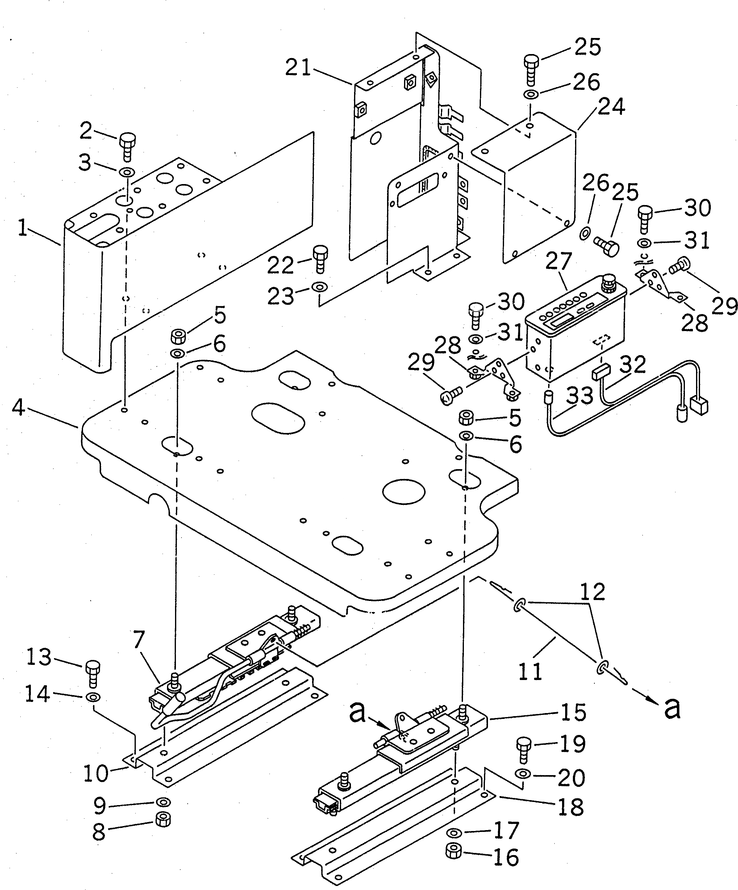
Запчасти Komatsu PC200-6H ОСНОВН. КОНСТРУКЦИЯ (ПРАВ. СТОЙКА) (СТОЙКА¤ РАМА И РЕГУЛЯТОР) (МОНИТОРING СИСТЕМА)(№9-8) КАБИНА ОПЕРАТОРА И СИСТЕМА УПРАВЛЕНИЯ

Схема запчастей Komatsu PC200-6H - ОСНОВН. КОНСТРУКЦИЯ (ПРАВ. СТОЙКА) (СТОЙКА¤ РАМА И РЕГУЛЯТОР) (МОНИТОРING СИСТЕМА)(№9-8) КАБИНА ОПЕРАТОРА И СИСТЕМА УПРАВЛЕНИЯ
FIT
1:1
100%

Артикул

Название

Примечание

Количество

1

20Y-43-21382

COVER

2

01010-81025

BOLT

3

01643-31032

WASHER

4

207-43-61110

FRAME

5

01582-11008

NUT

6

01643-31032

WASHER

7

207-43-61140

ADJUSTER,R.H.

8

01582-11008

NUT

9

01643-31032

WASHER

10

20Y-43-22320

PLATE

11

20Y-43-22540

WIRE

12

01640-20816

WASHER

13

01010-81025

BOLT

14

01643-31032

WASHER

15

207-43-61130

ADJUSTER,L.H.

16

01582-11008

NUT

17

01643-31032

WASHER

18

20Y-43-22320

PLATE

19

01010-81025

BOLT

20

01643-31032

WASHER

21

20Y-43-22710

COVER

22

01010-81225

BOLT

23

01643-31232

WASHER

24

20Y-43-21970

COVER

25

01010-80816

BOLT

26

01643-30823

WASHER

27

20Y-06-22720

RADIO,(AM)

28

20Y-43-22661

BRACKET

29

01023-10510

SCREW

30

01010-80816

BOLT

31

01643-30823

WASHER

32

20Y-06-22451

WIRING HARNESS

33

08192-50900

CORD

Выбрано товаров: 33