Запчасти Komatsu PC200-6H PPC ЛИНИЯ ХОДА (КЛАПАН EPC) (РАДИО УПРАВЛ-Е СПЕЦ-Я.)(№8-9998) КАБИНА ОПЕРАТОРА И СИСТЕМА УПРАВЛЕНИЯ

Схема запчастей Komatsu PC200-6H - PPC ЛИНИЯ ХОДА (КЛАПАН EPC) (РАДИО УПРАВЛ-Е СПЕЦ-Я.)(№8-9998) КАБИНА ОПЕРАТОРА И СИСТЕМА УПРАВЛЕНИЯ
FIT
1:1
100%

Артикул

Название

Примечание

Количество

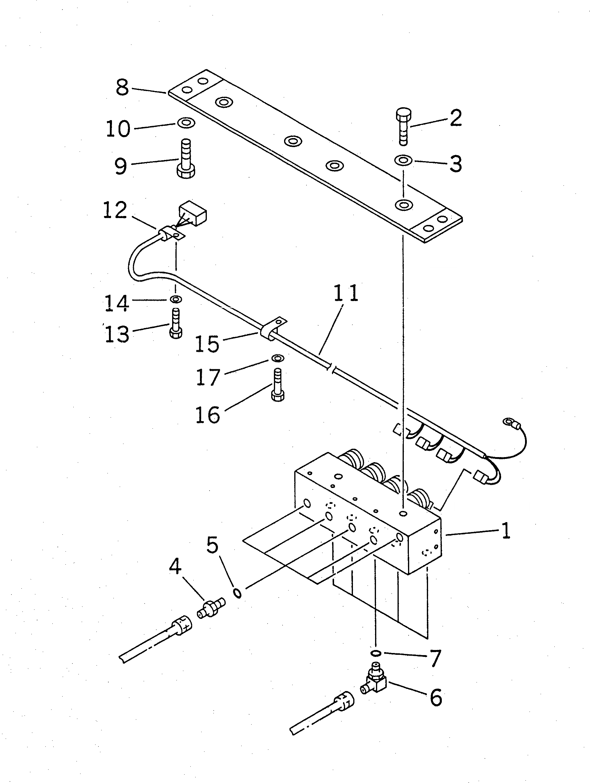
1

20Y-62-24630

VALVE ASS'Y

2

01010-51025

BOLT

3

01643-31032

WASHER

4

205-62-55270

NIPPLE

5

07002-01423

O-RING

6

207-62-33920

ELBOW

7

07002-01423

O-RING

8

20Y-62-24641

PLATE

9

01010-51225

BOLT

10

01643-31232

WASHER

11

20Y-06-26110

WIRING HARNESS

12

08036-01414

CLIP

13

01010-51220

BOLT

14

01643-31232

WASHER

15

08053-00912

CLIP

16

01010-51220

BOLT

17

01643-31232

WASHER

Выбрано товаров: 0