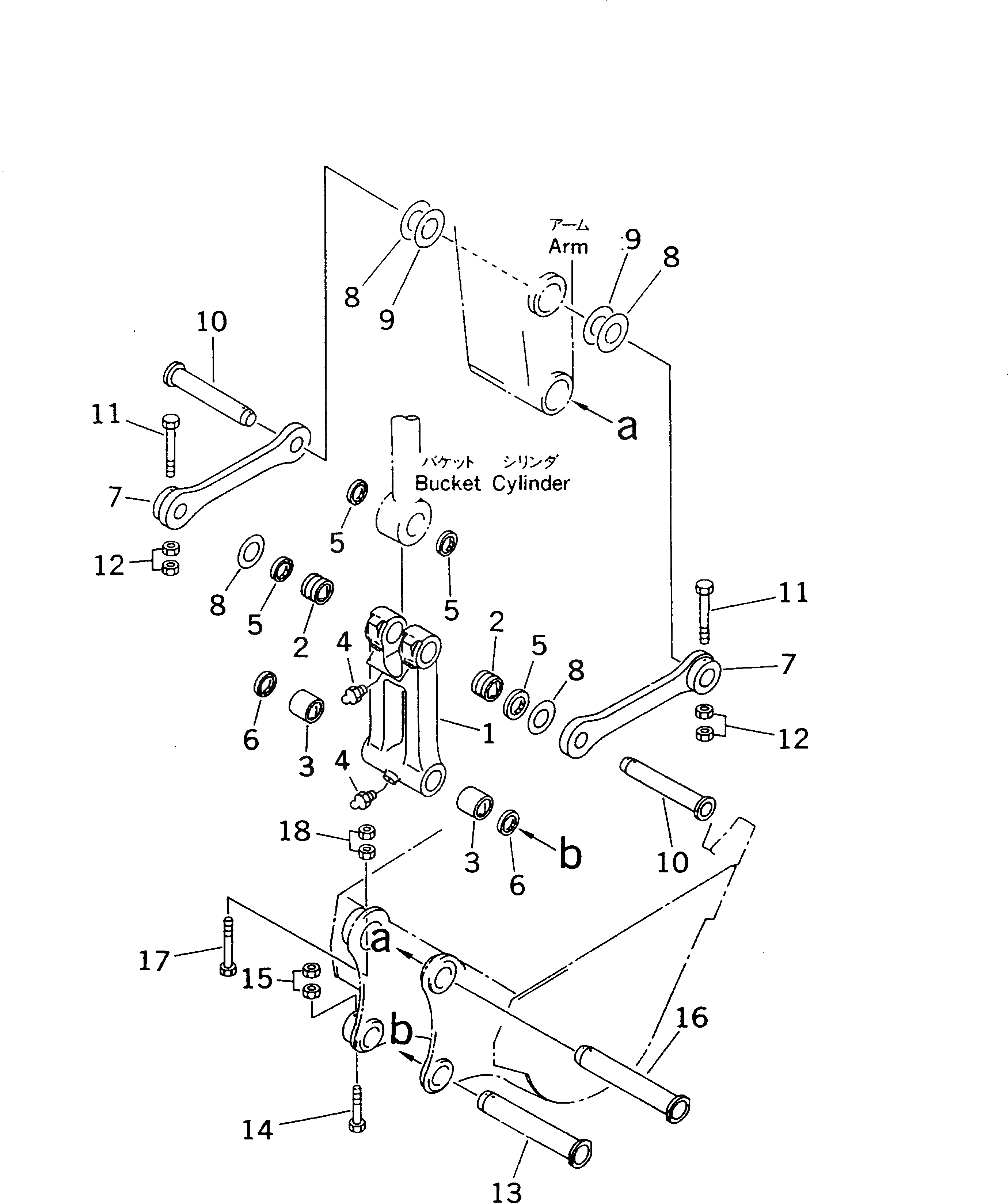
Запчасти Komatsu PC200-6H СОЕДИНЕНИЕ КОВША(№8-9998) РАБОЧЕЕ ОБОРУДОВАНИЕ

Схема запчастей Komatsu PC200-6H - СОЕДИНЕНИЕ КОВША(№8-9998) РАБОЧЕЕ ОБОРУДОВАНИЕ
FIT
1:1
100%

Артикул

Название

Примечание

Количество

|1

20Y-70-00070

LINK ASS'Y

|1

20Y-70-00181

LINK ASS'Y

1

LINK

|1

LINK

2

205-70-73180

BUSHING

3

205-70-67150

BUSHING

4

07020-00000

FITTING

5

21K-70-12180

SEAL

6

205-70-62140

SEAL

7

205-70-73130

LINK

8

20Y-70-11320

SPACER¤ 0.8MM

9

20Y-70-11330

SPACER¤ 1.5MM

10

205-70-73160

PIN

11

205-70-73190

BOLT

12

01580-12016

NUT

13

205-70-73270

PIN

14

205-70-73190

BOLT

15

01580-12016

NUT

16

205-70-73270

PIN

17

362-46-11210

BOLT

18

01580-12016

NUT

Выбрано товаров: 21