Запчасти Komatsu PC200-6H КОВШ¤ .7M (CECE .M)¤ MM (ГОРИЗОНТАЛЬН. ПАЛЕЦ) РАБОЧЕЕ ОБОРУДОВАНИЕ

Схема запчастей Komatsu PC200-6H - КОВШ¤ .7M (CECE .M)¤ MM (ГОРИЗОНТАЛЬН. ПАЛЕЦ) РАБОЧЕЕ ОБОРУДОВАНИЕ
FIT
1:1
100%

Артикул

Название

Примечание

Количество

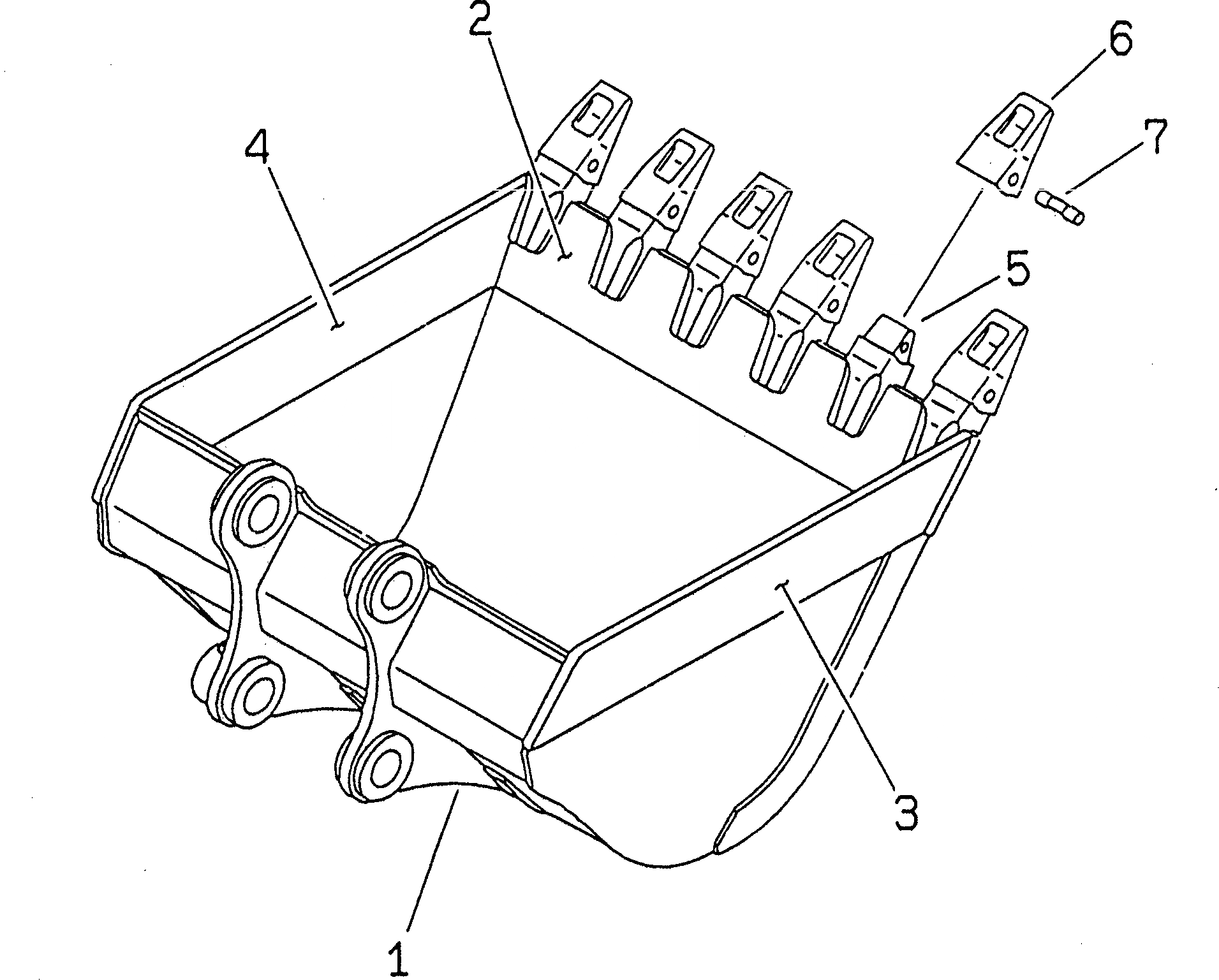
1

20Y-920-2450

BUCKET

2

20Y-920-1420

PLATE (WELDED)

3

20Y-920-2A51

PLATE,L.H. (WELDED)

|3

20Y-920-2A50

PLATE,L.H. (WELDED)

4

20Y-920-2A91

PLATE,R.H. (WELDED)

|4

20Y-920-2A90

PLATE,R.H. (WELDED)

5

20Y-70-14520

ADAPTER (WELDED)

6

205-70-19570

TOOTH

7

09244-02496

PIN

Выбрано товаров: 9