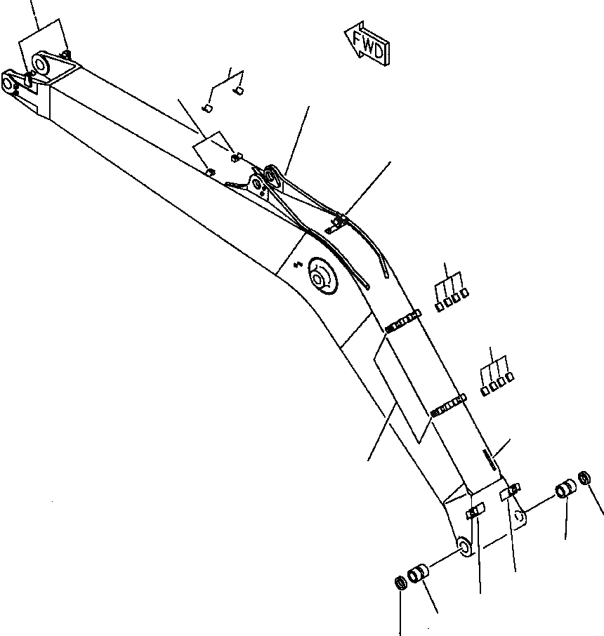
Запчасти Komatsu PC200-6L FIG NO. T- СТРЕЛА РАБОЧЕЕ ОБОРУДОВАНИЕ

Схема запчастей Komatsu PC200-6L - FIG NO. T- СТРЕЛА РАБОЧЕЕ ОБОРУДОВАНИЕ
7
10
6
1
5
9
9
8
4
12
11
3
2
11
12
FIT
1:1
100%

Артикул

Название

Примечание

Количество

|$0

20Y-70-00141

BOOM ASSEMBLY

1

NSS

BOOM

2

20Y-62-24180

BRACKET

3

20Y-62-24190

BRACKET

4

20Y-62-24211

BRACKET

5

20Y-62-24240

BRACKET

6

206-62-52281

BRACKET

7

20Y-70-11641

BRACKET

8

20Y-70-11650

SEAT

9

20Y-62-13760

SEAT

10

205-62-73430

SEAT

11

205-70-65762

BUSHING

12

07145-00090

SEAL

|$15

20Y-70-21191

BUSHING

Выбрано товаров: 14