Запчасти Komatsu PC200-6S КОВШ¤ .8M (CECE .7M)¤ MM (ГОРИЗОНТАЛЬН. ПАЛЕЦ) (С РЕГУЛИРОВКОЙ)(№9-) РАБОЧЕЕ ОБОРУДОВАНИЕ

Схема запчастей Komatsu PC200-6S - КОВШ¤ .8M (CECE .7M)¤ MM (ГОРИЗОНТАЛЬН. ПАЛЕЦ) (С РЕГУЛИРОВКОЙ)(№9-) РАБОЧЕЕ ОБОРУДОВАНИЕ
FIT
1:1
100%

Артикул

Название

Примечание

Количество

1

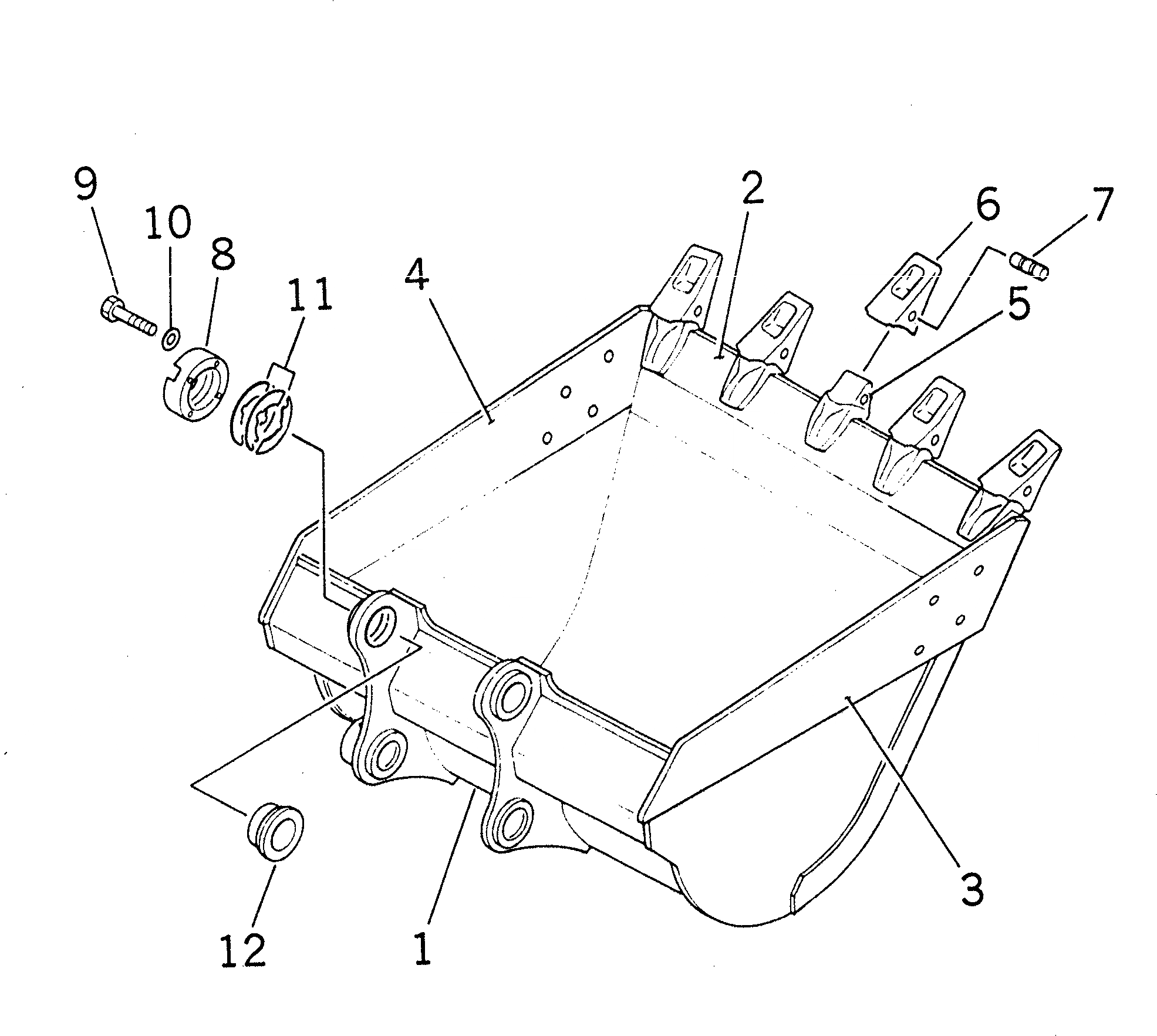
20Y-70-24512

BUCKET

|1

20Y-70-24511

BUCKET

2

20Y-70-14122

PLATE (WELDED)

3

20Y-70-34121

PLATE,L.H. (WELDED)

|3

20Y-70-24132

PLATE (WELDED)

|3

20Y-70-24131

PLATE (WELDED)

4

20Y-70-34131

PLATE,R.H. (WELDED)

|4

20Y-70-24142

PLATE (WELDED)

|4

20Y-70-24141

PLATE (WELDED)

5

20Y-70-14520

ADAPTER (WELDED)

6

205-70-19570

TOOTH

7

09244-02496

PIN

8

205-70-74391

PLATE

9

01010-62055

BOLT

10

01643-32060

WASHER

11

205-70-00100

SHIM ASS'Y

|11

SHIM¤ 1.0MM

|11

SHIM¤ 0.5MM

12

205-70-74381

SPACER

Выбрано товаров: 19