Запчасти Komatsu PC200-6S НАСОС АВТОМАТИЧ. ЗАПРАВКИ ТОПЛИВА РАЗНОЕ

Схема запчастей Komatsu PC200-6S - НАСОС АВТОМАТИЧ. ЗАПРАВКИ ТОПЛИВА РАЗНОЕ
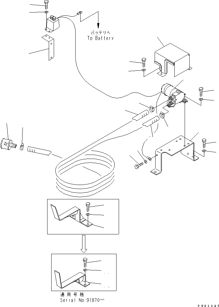
1
2
3
4
5
6
7
8
9
10
11
12
13
14
15
15
16
16
17
17
18
19
20
20
21
22
FIT
1:1
100%

Артикул

Название

Примечание

Количество

1

20Y-04-21310

PUMP

|1

08040-01500

FUSE¤ 15A

2

01010-80830

BOLT

|2

01010-50830

BOLT

3

01643-30823

WASHER

4

01010-80820

BOLT

|4

01010-50820

BOLT

5

01643-30823

WASHER

6

20Y-04-21330

BRACKET

7

01010-81220

BOLT

|7

01010-51220

BOLT

8

01643-31232

WASHER

9

20Y-04-21340

COVER

10

01010-80820

BOLT

|10

01010-50820

BOLT

11

01643-30823

WASHER

12

20Y-04-21360

BRACKET

13

01010-80835

BOLT

|13

01010-50835

BOLT

14

01643-30823

WASHER

15

20Y-04-21370

BRACKET

|15

20Y-04-21350

BRACKET

16

01010-81235

BOLT

|16

01010-51235

BOLT

17

01643-31232

WASHER

18

07261-22050

HOSE

19

07261-22022

HOSE

20

07281-00359

CLAMP

21

207-04-31150

STRAINER

22

07281-00359

CLAMP

Выбрано товаров: 30