Качественные детали и логистика
Оригинальные и аналоговые запчасти с доставкой по России, Казахстану и Беларуси
©2022 PartSell ООО "Система" ИНН 2463123282 ОГРН 1212400004838
Центральный офис: г. Красноярск, Академика Киренского, д.87, пом.4
Телефон: 8 (800) 777-65-74 Email: zakaz@partsell.ru
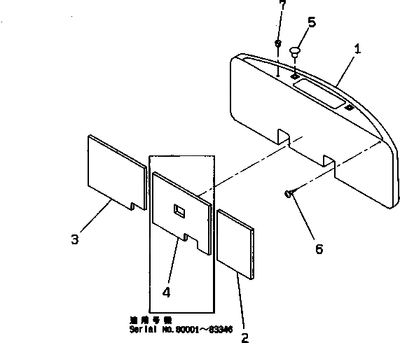
ПРОТИВОВЕС(№8-98)
№
Артикул
Название
Примечание
Количество
1
20Y-46-27141
WEIGHT
20Y-46-24134
2
20Y-46-24141
SHEET
3
20Y-46-24152
4
20Y-46-24170
5
20Y-46-11270
CAP
6
01370-00508
SCREW
7
07049-01215
PLUG
Выбрано товаров: 0