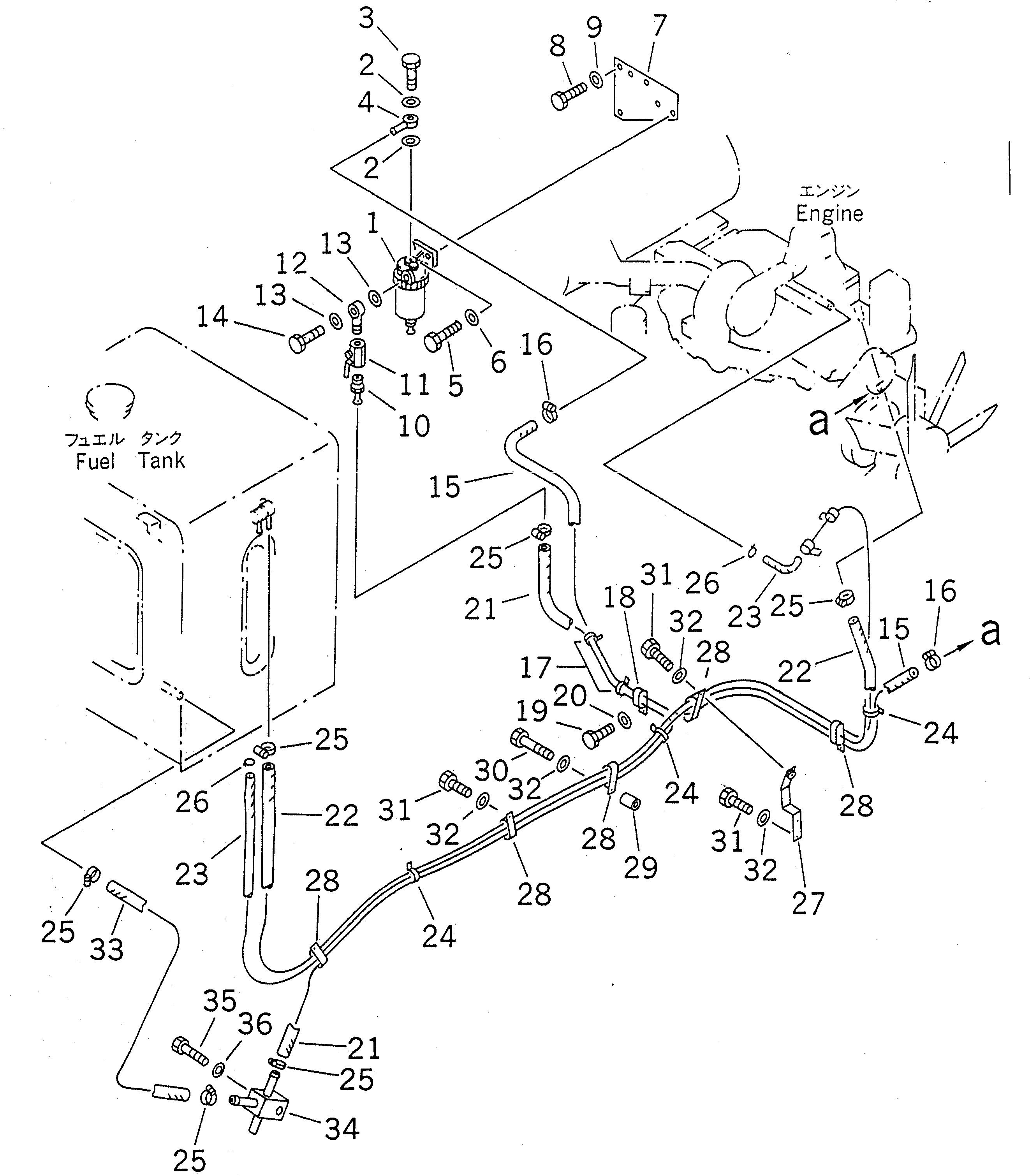
Запчасти Komatsu PC200-6Z ТОПЛИВНАЯ ЛИНИЯ (С ВОДООТДЕЛИТЕЛЕМ) (МОРОЗОУСТОЙЧИВ. СПЕЦИФ-Я)(№89-9) ТОПЛИВН. БАК. AND КОМПОНЕНТЫ

Схема запчастей Komatsu PC200-6Z - ТОПЛИВНАЯ ЛИНИЯ (С ВОДООТДЕЛИТЕЛЕМ) (МОРОЗОУСТОЙЧИВ. СПЕЦИФ-Я)(№89-9) ТОПЛИВН. БАК. AND КОМПОНЕНТЫ
FIT
1:1
100%

Артикул

Название

Примечание

Количество

1

600-311-9731

WATER SEPARATOR A.

2

07005-01412

SEAL, WASHER

3

07206-31014

BOLT

4

205-04-62150

JOINT

5

01010-51030

BOLT

6

01643-31032

WASHER

7

20Y-04-21211

BRACKET

8

01010-51225

BOLT

9

01643-31232

WASHER

10

154-04-11540

NIPPLE

11

07700-40240

VALVE

12

205-04-62140

JOINT

13

07005-01412

SEAL, WASHER

14

07206-31014

BOLT

15

07288-11022

HOSE

16

07281-00197

CLAMP

17

08034-00519

BAND

18

141-06-11220

CLIP

19

01010-51225

BOLT

20

01643-31232

WASHER

21

07288-01025

HOSE

22

07288-01032

HOSE

23

07270-50437

TUBE

24

08034-00519

BAND

25

07281-00197

CLAMP

26

07285-00080

CLIP

27

20Y-04-21151

BRACKET

28

141-06-11220

CLIP

29

142-03-11160

SPACER

30

01010-51260

BOLT

31

01010-51225

BOLT

32

01643-31232

WASHER

33

07288-01005

HOSE

34

20Y-04-11280

TEE

35

01010-51245

BOLT

36

01643-31232

WASHER

Выбрано товаров: 36