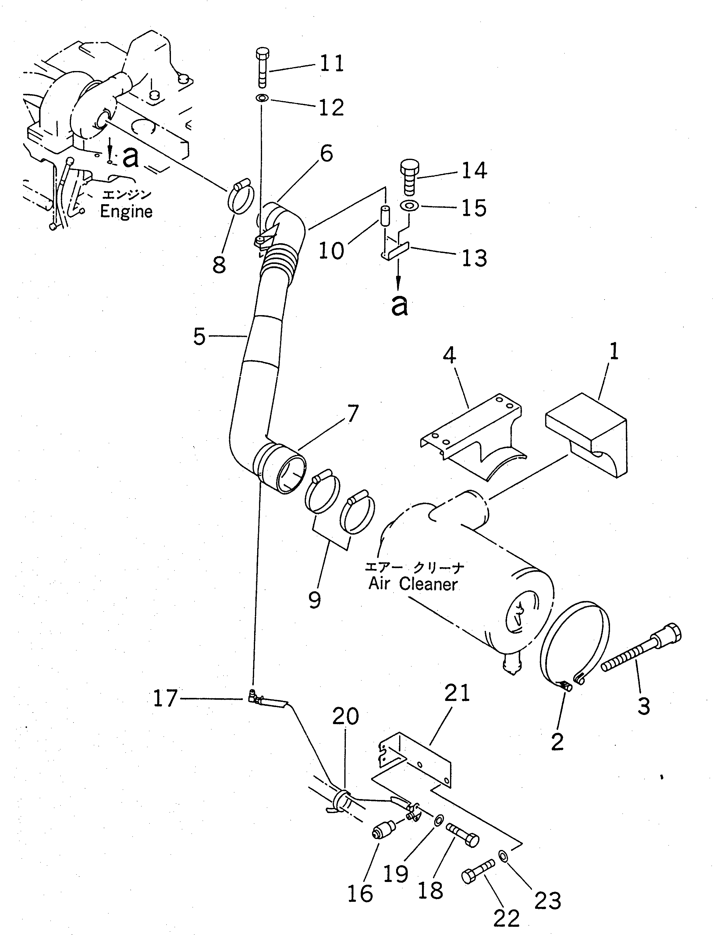
Запчасти Komatsu PC200-6Z СОЕДИНЕНИЯ ВОЗДУХООЧИСТИТЕЛЯ(ДЛЯ ОДИНОЧН. ЭЛЕМЕНТ)(№89-9998) КОМПОНЕНТЫ ДВИГАТЕЛЯ

Схема запчастей Komatsu PC200-6Z - СОЕДИНЕНИЯ ВОЗДУХООЧИСТИТЕЛЯ(ДЛЯ ОДИНОЧН. ЭЛЕМЕНТ)(№89-9998) КОМПОНЕНТЫ ДВИГАТЕЛЯ
FIT
1:1
100%

Артикул

Название

Примечание

Количество

1

20Y-54-27551

SEAL

2

6131-11-4520

BAND ASS'Y

3

6643-11-4641

BOLT

4

20Y-54-29194

FRAME

5

20Y-01-21212

AIR DUCT

6

20Y-01-21220

INSULATOR

7

6207-11-4981

INSULATOR

8

07289-00070

CLAMP

|8

208-09-11120

CLAMP

9

07289-00120

CLAMP

|9

207-09-11120

CLAMP

10

6152-51-5520

SPACER

11

01010-50890

BOLT

12

01643-30823

WASHER

13

20Y-01-21232

BRACKET

14

01435-01035

BOLT

15

421-06-12780

SPACER

16

08670-12001

INDICATOR

17

08671-10080

HOSE

|17

08671-10100

HOSE

18

01010-50616

BOLT

19

01602-20619

WASHER

20

08034-00823

BAND

21

20Y-01-21710

BRACKET

22

01010-51225

BOLT

23

01643-31232

WASHER

Выбрано товаров: 26