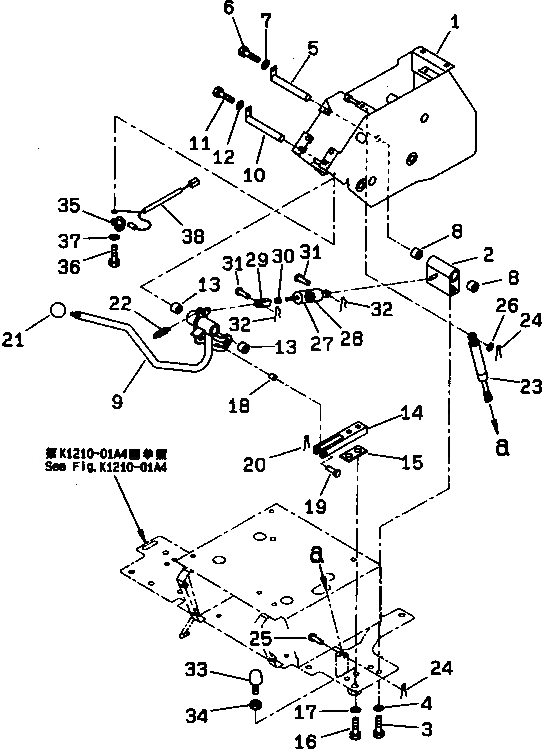
Запчасти Komatsu PC200-6Z ЛЕВ. СТОЙКА (СТОЙКА И РЫЧАГ БЛОКИРОВКИ)(№89-9998) КАБИНА ОПЕРАТОРА И СИСТЕМА УПРАВЛЕНИЯ

Схема запчастей Komatsu PC200-6Z - ЛЕВ. СТОЙКА (СТОЙКА И РЫЧАГ БЛОКИРОВКИ)(№89-9998) КАБИНА ОПЕРАТОРА И СИСТЕМА УПРАВЛЕНИЯ
FIT
1:1
100%

Артикул

Название

Примечание

Количество

1

201-54-73261

BRACKET,L.H.

2

20U-54-23162

BOSS

3

01010-51030

BOLT

4

01643-31032

WASHER

5

20U-43-21121

SHAFT

6

01010-50616

BOLT

7

01643-30623

WASHER

8

195-61-34120

BEARING

9

201-43-71141

LEVER

10

20U-43-21121

SHAFT

11

01010-50616

BOLT

12

01643-30623

WASHER

13

195-61-34120

BEARING

14

20U-43-21132

STOPPER

15

20U-43-21270

PLATE

16

01010-51035

BOLT

17

01643-31032

WASHER

18

20T-43-71271

COLLAR

19

04205-10835

PIN

20

04050-12015

PIN

21

09304-10835

KNOB

22

20Y-54-13550

SPRING

23

20U-54-23360

SPRING

24

04050-12015

PIN

25

04205-10822

PIN

26

01643-30823

WASHER

27

20U-43-21372

SPRING

28

20U-43-21390

SPRING

29

04210-20500

YOKE

30

01580-10504

NUT

31

04205-10514

PIN

32

04052-10530

PIN

33

21K-54-11310

STOPPER

34

01580-11210

NUT

35

20T-06-71520

SWITCH

36

20U-43-21360

SCREW

37

01641-20508

WASHER

38

201-06-71160

WIRING HARNESS

Выбрано товаров: 38