Запчасти Komatsu PC200-6Z КОВШ¤ .7M (CECE .M)¤ MM (ВЕРТИКАЛЬН. ПАЛЕЦ) РАБОЧЕЕ ОБОРУДОВАНИЕ

Схема запчастей Komatsu PC200-6Z - КОВШ¤ .7M (CECE .M)¤ MM (ВЕРТИКАЛЬН. ПАЛЕЦ) РАБОЧЕЕ ОБОРУДОВАНИЕ
FIT
1:1
100%

Артикул

Название

Примечание

Количество

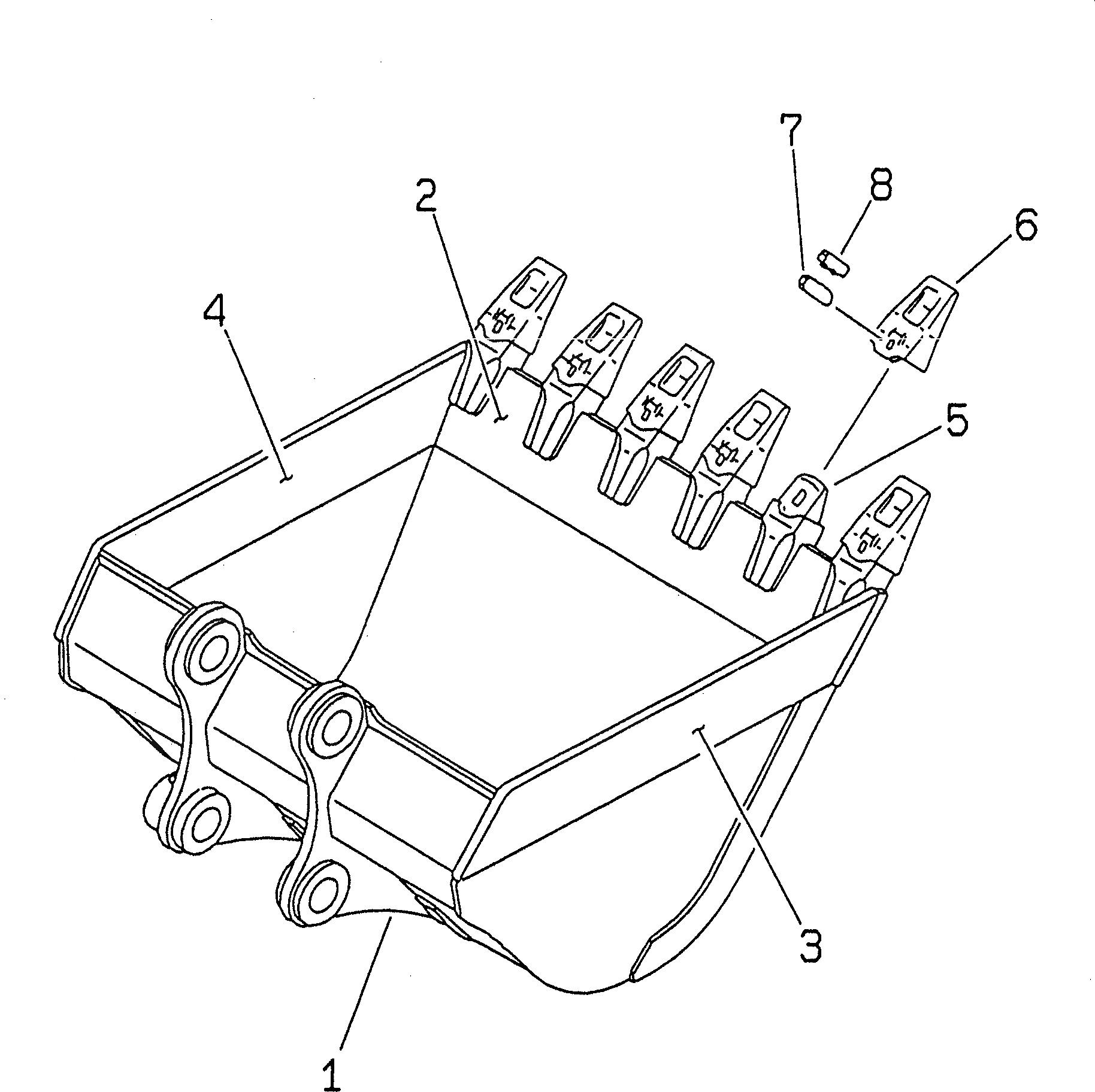
1

20Y-920-2410

BUCKET

2

20Y-920-1420

PLATE (WELDED)

3

20Y-920-2A51

PLATE (WELDED)

|3

20Y-920-2A50

PLATE (WELDED)

4

20Y-920-2A91

PLATE (WELDED)

|4

20Y-920-2A90

PLATE (WELDED)

5

20Y-70-24210

ADAPTER (WELDED)

6

205-70-74272

TOOTH

7

205-70-74281

PIN

8

205-70-74291

LOCK

Выбрано товаров: 10