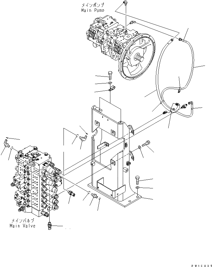
Запчасти Komatsu PC200-7 ОСНОВН. КЛАПАН (КОРПУС КЛАПАНА)( АКТУАТОР) ГИДРАВЛИКА

Схема запчастей Komatsu PC200-7 - ОСНОВН. КЛАПАН (КОРПУС КЛАПАНА)( АКТУАТОР) ГИДРАВЛИКА
8
10
7
9
9
22
23
21
16
17
15
19
20
18
4
5
2
3
1
13
12
14
11
11
8
6
FIT
1:1
100%

Артикул

Название

Примечание

Количество

1

20Y-62-41112

BRACKET

2

01010-81640

BOLT

3

01643-31645

WASHER

4

01010-81645

BOLT

5

01643-31645

WASHER

6

02761-00217

HOSE

7

02777-00211

HOSE

8

20Y-62-22810

BAND, YELLOW

9

08034-00519

BAND

10

04434-51612

CLIP

11

7861-93-1650

SENSOR

12

11Y-62-12130

NIPPLE

13

02896-11008

O-RING

14

07002-11423

O-RING

15

02782-10210

ELBOW

16

02896-11008

O-RING

17

07002-11423

O-RING

18

02782-10210

ELBOW

19

02896-11008

O-RING

20

07002-11423

O-RING

21

04435-51512

CLIP

22

01010-81225

BOLT

23

01643-31232

WASHER

Выбрано товаров: 23