Запчасти Komatsu PC200-8 КАБИНА КРЫШКА(С ПРЕФИЛЬТР) (ВОЗДУХОВОДЫ И COVER) (ЛЕСОЗАГОТОВИТЕЛЬНАЯ ТЕХНИКА СПЕЦ-Я) ЧАСТИ КОРПУСА

Схема запчастей Komatsu PC200-8 - КАБИНА КРЫШКА(С ПРЕФИЛЬТР) (ВОЗДУХОВОДЫ И COVER) (ЛЕСОЗАГОТОВИТЕЛЬНАЯ ТЕХНИКА СПЕЦ-Я) ЧАСТИ КОРПУСА
3
4
1
3
4
2
5
6
5
6
11
12
7
8
9
10
10
10
0
10
3
13
FIT
1:1
100%

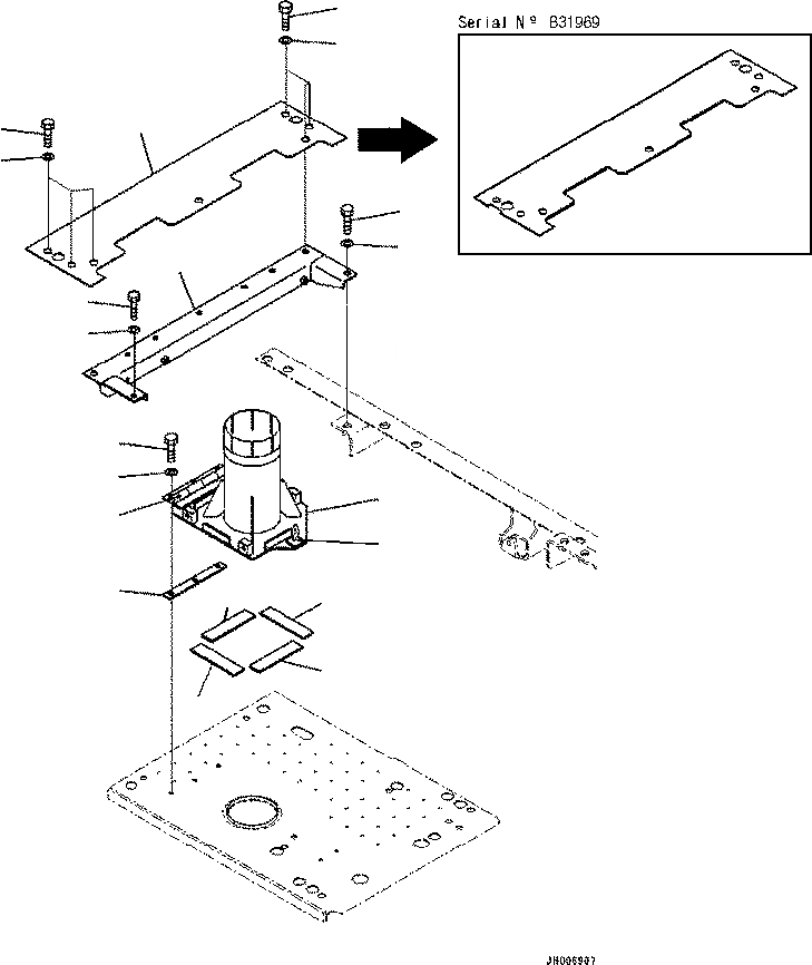
Артикул

Название

Примечание

Количество

1

20Y-54-B1280

COVER

| 1

20Y-54-86790

COVER

2

20Y-54-71172

FRAME

3

01010-81230

BOLT

4

175-54-34170

WASHER

5

01010-81230

BOLT

6

01643-31232

WASHER

|7

20Y-54-76890

DUCT

7

DUCT

8

20Y-54-76860

HINGE, WELDED

9

2A5-54-13991

HOOK, WELDED

10

20Y-54-76880

SEAL

11

01010-81030

BOLT

12

01643-31032

WASHER

13

20Y-54-76870

PLATE

Выбрано товаров: 15