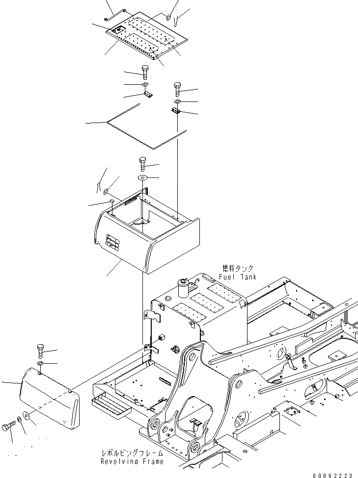
Запчасти Komatsu PC200-8 АККУМУЛЯТОРН. ОТСЕК(№-8) ЧАСТИ КОРПУСА

Схема запчастей Komatsu PC200-8 - АККУМУЛЯТОРН. ОТСЕК(№-8) ЧАСТИ КОРПУСА
1
2
3
4
4
5
6
6
7
7
8
9
10
11
11
12
12
13
14
15
15
16
16
17
18
19
FIT
1:1
100%

Артикул

Название

Примечание

Количество

1

20Y-54-74143

COVER

|$6

20Y-54-74103

CASE ASS'Y

2

20Y-54-74121

COVER

3

20Y-54-74133

COVER

4

20Y-54-74161

HINGE (WELDED)

5

20Y-54-74172

LOCK (WELDED)

6

01010-81020

BOLT

7

01643-31032

WASHER

8

20Y-54-29680

SHEET

9

20Y-54-29660

SEAL

10

203-54-56630

ROD

11

01643-30623

WASHER

12

04050-11612

PIN

13

20Y-00-42140

PLATE

14

209-00-41550

PLATE

15

01010-81230

BOLT

16

01643-31232

WASHER

17

20Y-54-19930

COLLAR

18

175-54-34170

WASHER

19

01010-81230

BOLT

Выбрано товаров: 20