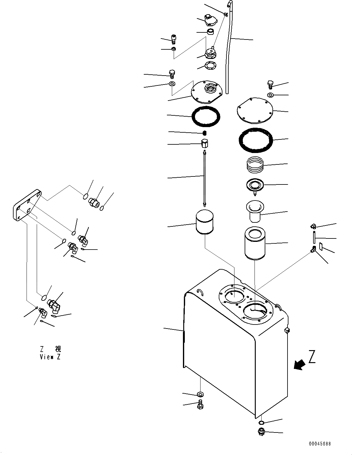
Запчасти Komatsu PC200-8 ГИДР. БАК. (№-77) ГИДР. БАК.

Схема запчастей Komatsu PC200-8 - ГИДР. БАК. (№-77) ГИДР. БАК.
14
12
14
13
12
13
44
43
1
4
5
6
7
8
17
16
15
11
10
9
41
42
40
39
38
37
36
35
34
33
32
31
30
29
28
27
26
25
24
23
22
21
20
19
18
3
2
2
FIT
1:1
100%

Артикул

Название

Примечание

Количество

1

20Y-60-41113

Tank

2

203-60-31100

Elbow Assembly

3

203-60-31160

Tube

4

07044-12412

Plug

5

07002-12434

O-ring

6

02781-00628

Union

7

02896-11018

O-ring

8

07002-12434

O-ring

9

02782-10522

Elbow

10

02896-11015

O-ring

11

07002-12434

O-ring

12

02782-10315

Elbow

13

02896-11009

O-ring

14

07002-12034

O-ring

15

02782-10311

Elbow

16

02896-11009

O-ring

17

07002-11423

O-ring

18

207-60-71182

Element, Hydraulic Oil Filter

19

20Y-60-31140

Strainer

20

20Y-60-31131

Valve Assembly

21

20Y-60-21240

Spring

22

22U-60-21232

Cover

23

07000-15195

O-ring

24

01010-81230

Bolt

25

01643-31232

Washer

|$25

20Y-60-31171

Strainer Assembly

26

207-60-61150

Rod Assembly

27

20Y-60-21320

Holder

28

12R-60-11230

Spring

29

22B-60-11160

Strainer

30

20Y-60-41162

Cover

31

07000-15160

O-ring

32

01010-81230

Bolt

33

01643-31232

Washer

34

17A-60-11310

Cap Assembly

35

20Y-60-21470

Element

36

208-60-71180

Filler Neck, Filler

37

20Y-60-21340

Gasket

38

01252-70516

Bolt

39

01601-20513

Washer

40

07285-00155

Clip

41

07270-61411

Tube

42

205-00-73360

Plate, Operating

43

01010-81635

Bolt

44

01643-31645

Washer

Выбрано товаров: 45