Качественные детали и логистика
Оригинальные и аналоговые запчасти с доставкой по России, Казахстану и Беларуси
©2022 PartSell ООО "Система" ИНН 2463123282 ОГРН 1212400004838
Центральный офис: г. Красноярск, Академика Киренского, д.87, пом.4
Телефон: 8 (800) 777-65-74 Email: zakaz@partsell.ru
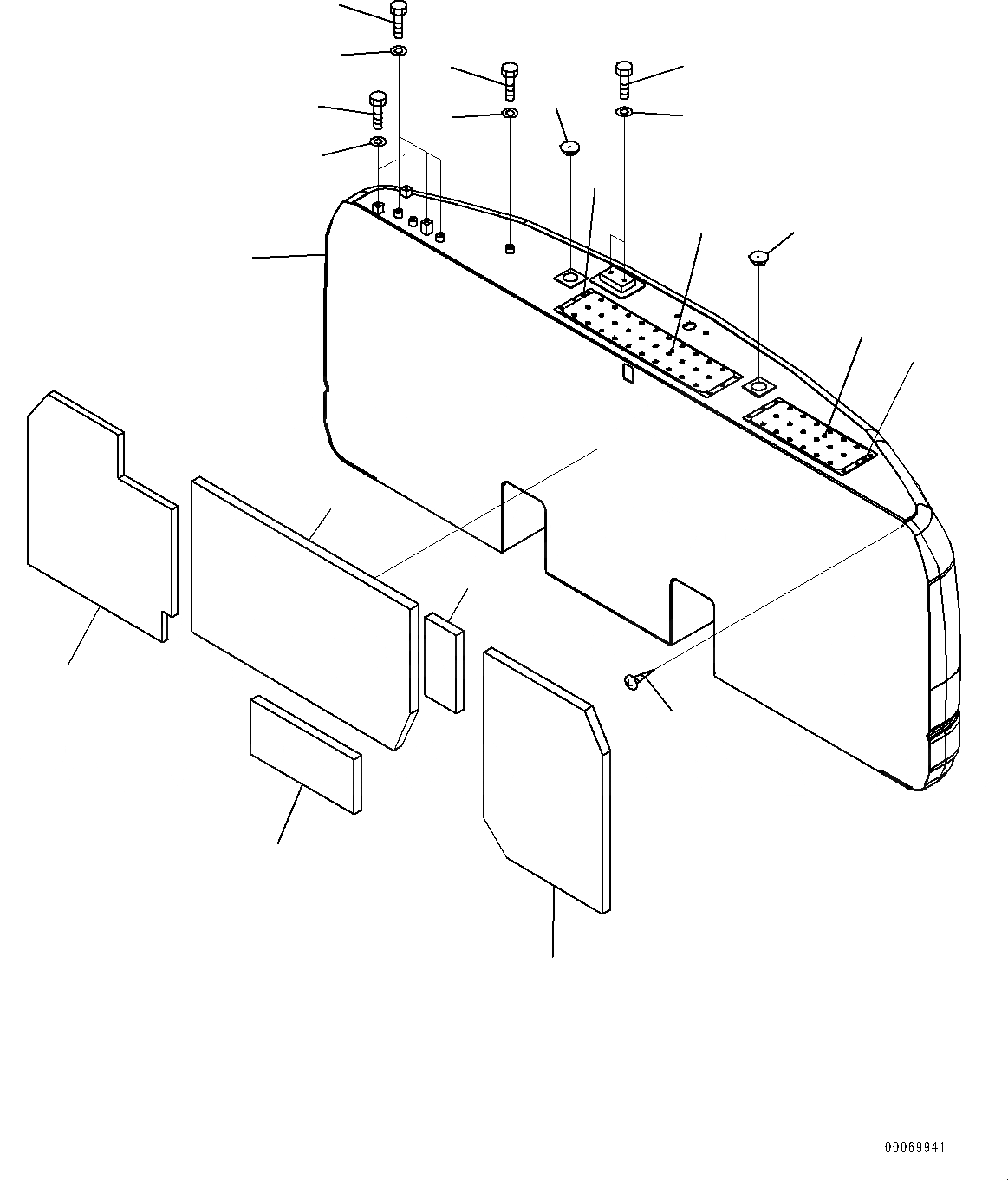
ПРОТИВОВЕС (№-)
№
Артикул
Название
Примечание
Количество
|$0
20Y-46-54630
Weight
1
2
20Y-46-54313
Plate,Welded
3
20Y-46-54323
4
20Y-46-54141
Sheet
5
20Y-46-54151
6
20Y-46-54160
7
20Y-46-54181
8
20Y-46-54191
9
20Y-00-42150
Plate
10
20Y-00-42160
11
20Y-46-11270
Cap
12
01370-00508
Screw
13
01010-81220
Bolt
14
01643-31232
Washer
Выбрано товаров: 0