Запчасти Komatsu PC200-8 ПРОТИВОВЕС (№-) ПРОТИВОВЕС, 7KG, ДЛЯ KAL

Схема запчастей Komatsu PC200-8 - ПРОТИВОВЕС (№-) ПРОТИВОВЕС, 7KG, ДЛЯ KAL
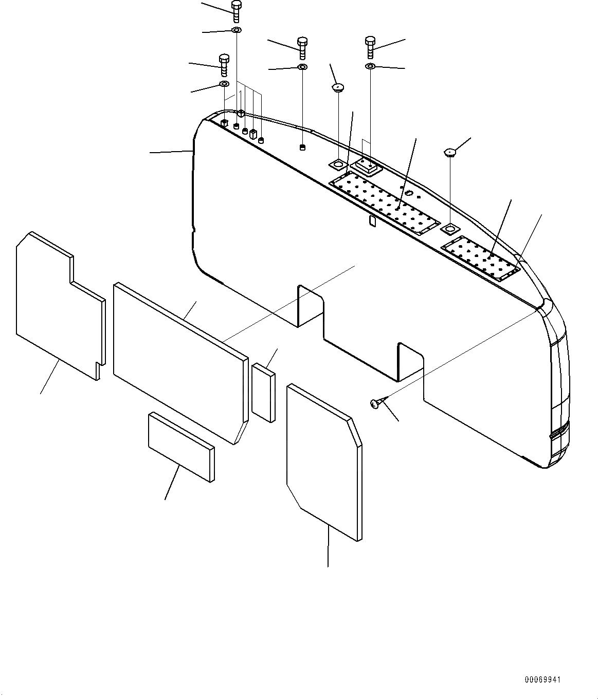
2
10
3
9
4
6
5
12
1
11
8
7
11
14
13
14
13
14
13
14
13
FIT
1:1
100%

Артикул

Название

Примечание

Количество

|$0

20Y-46-54630

Weight

1

Weight

2

20Y-46-54313

Plate,Welded

3

20Y-46-54323

Plate,Welded

4

20Y-46-54141

Sheet

5

20Y-46-54151

Sheet

6

20Y-46-54160

Sheet

7

20Y-46-54181

Sheet

8

20Y-46-54191

Sheet

9

20Y-00-42150

Plate

10

20Y-00-42160

Plate

11

20Y-46-11270

Cap

12

01370-00508

Screw

13

01010-81220

Bolt

14

01643-31232

Washer

Выбрано товаров: 15