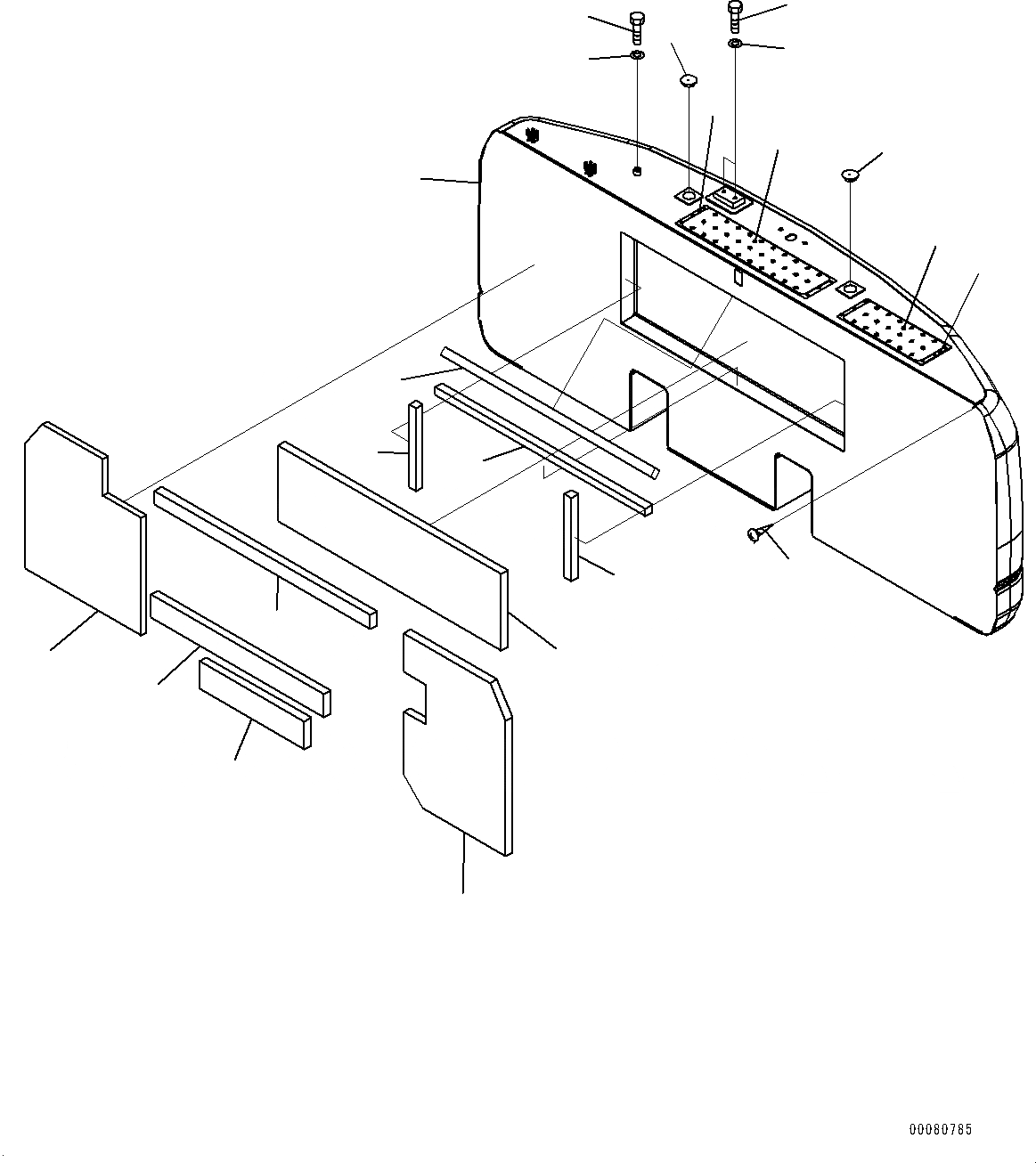
Запчасти Komatsu PC200-8E0 ПРОТИВОВЕС (№8-) ПРОТИВОВЕС, KG

Схема запчастей Komatsu PC200-8E0 - ПРОТИВОВЕС (№8-) ПРОТИВОВЕС, KG
12
3
13
4
11
5
15
1
14
2
14
17
16
16
17
9
6
8
10
10
7
7
FIT
1:1
100%

Артикул

Название

Примечание

Количество

|$0

205-46-25111

Weight

1

Weight

2

20Y-46-54313

Plate,Welded

3

20Y-46-54323

Plate,Welded

4

205-46-21541

Sheet

5

205-46-21550

Sheet

6

205-46-21560

Sheet

7

205-46-21570

Sheet

8

205-46-21580

Sheet

9

205-46-21590

Sheet

10

205-46-21610

Sheet

11

205-46-21631

Sheet

12

20Y-00-42150

Plate

13

20Y-00-42160

Plate

14

20Y-46-11270

Cap

15

01370-00508

Screw

16

01010-81220

Bolt

17

01643-31232

Washer

Выбрано товаров: 18