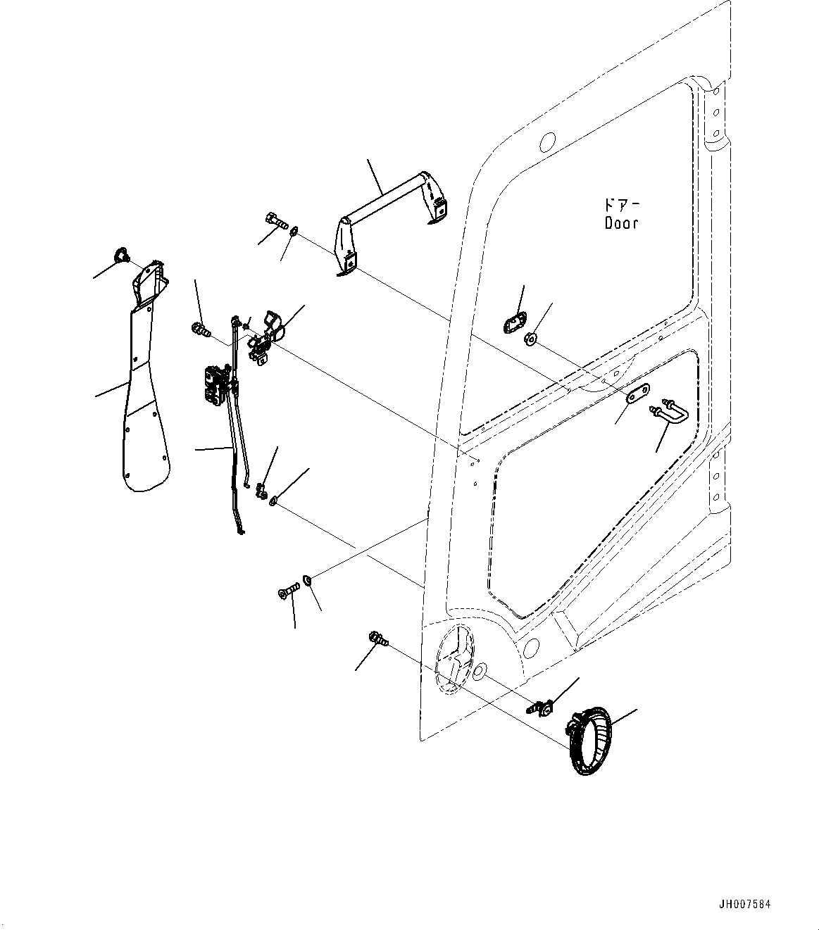
Запчасти Komatsu PC200-8M0 КАБИНА, ЗАМОК ДВЕРИ (№-) КАБИНА, ПРАВ. И ЗАДН. ФИКС. ОКНА

Схема запчастей Komatsu PC200-8M0 - КАБИНА, ЗАМОК ДВЕРИ (№-) КАБИНА, ПРАВ. И ЗАДН. ФИКС. ОКНА
13
14
15
1
4
6
8
7
18
19
16
17
12
11
5
9
10
2
3
20
FIT
1:1
100%

Артикул

Название

Примечание

Количество

|$0

20Y-53-00390

Door Assembly

1

20Y-53-12201

Latch Assembly

2

20Y-54-52300

Handle Assembly

3

22B-54-16340

Snap

4

01023-10612

Screw

5

20Y-53-12991

Handle

6

01023-10612

Screw

7

01240-00616

Screw

8

195-Z11-1690

Washer

9

2A5-53-12710

Lock Assembly

10

22B-54-16330

Snap

11

20Y-53-11320

Striker

12

20Y-53-12940

Plate

13

01584-01008

Nut

14

20Y-53-12661

Cover

15

2A5-53-13130

Grip

16

01010-80820

Bolt

17

01643-30823

Washer

18

20Y-53-11441

Cover

19

22B-54-16461

Rivet

20

145-Z79-6270

Washer

Выбрано товаров: 21