Запчасти Komatsu PC200-8M0 РУКОЯТЬ (9MM,НОВ. MINE СПЕЦ-Я&УСИЛ. СПЕЦ-Я) (РУКОЯТЬ)PC-8M T [РАБОЧЕЕ ОБОРУДОВАНИЕ]

Схема запчастей Komatsu PC200-8M0 - РУКОЯТЬ (9MM,НОВ. MINE СПЕЦ-Я&УСИЛ. СПЕЦ-Я) (РУКОЯТЬ)PC-8M T [РАБОЧЕЕ ОБОРУДОВАНИЕ]
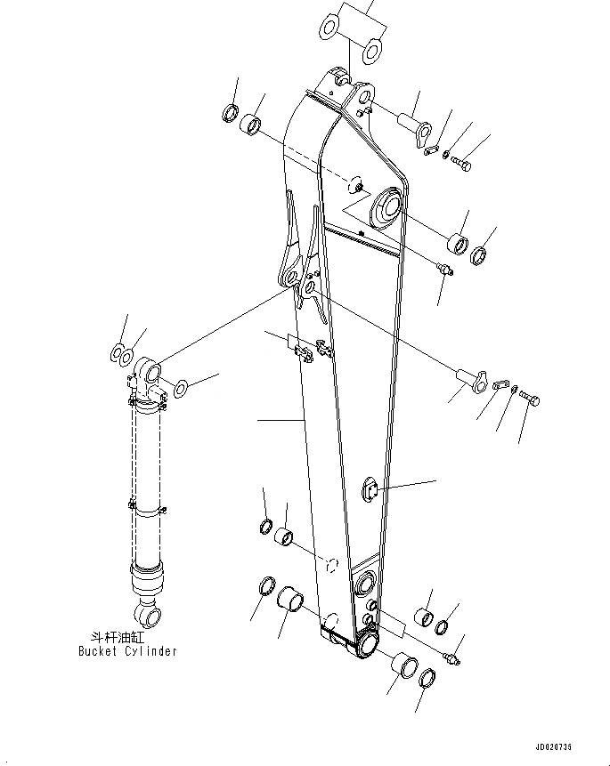
15
3
5
5
19
18
17
16
14
13
12
11
9
10
10
9
8
8
7
4
6
6
4
1
2
20
21
20
7
FIT
1:1
100%

Артикул

Название

Примечание

Количество

-

20Y-70-D3800

ARM ASSEMBLY

1

ARM

2

20Y-70-42E51

PLATE, WELDED

3

20Y-970-3572

BRACKET, WELDED

4

205-70-72180

BUSHING

5

20Y-70-32410

BUSHING

6

205-70-73180

BUSHING

7

07020-00000

FITTING, GREASE

8

07145-00090

SEAL, DUST

9

20Y-70-23220

SEAL, DUST

10

20Y-70-23230

SEAL, DUST

11

20Y-70-42220

PIN

12

205-70-66581

PLATE

13

01010-81230

BOLT

14

01643-31232

WASHER

15

205-70-51530

SPACER, T=1.5MM

16

205-70-71190

PIN

17

205-70-66580

PLATE

18

01010-81230

BOLT

19

01643-31232

WASHER

20

20Y-70-11310

SPACER, T=1.5MM

21

20Y-70-11290

SPACER, T=0.8MM

Выбрано товаров: 22