Запчасти Komatsu PC200-8M0 ДОПОЛН. ЗАДН. ЛАМПА РАБОЧ. ОСВЕЩЕНИЯ E [ЭЛЕКТРИКА]

Схема запчастей Komatsu PC200-8M0 - ДОПОЛН. ЗАДН. ЛАМПА РАБОЧ. ОСВЕЩЕНИЯ E [ЭЛЕКТРИКА]
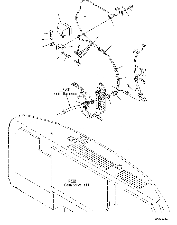
1
2
3
4
5
6
7
8
9
10
11
12
13
14
13
13
13
13
13
13
13
14
FIT
1:1
100%

Артикул

Название

Примечание

Количество

1

20Y-06-D1870

LAMP ASSEMBLY, WORKING

|$2

21T-06-32810

LAMP ASSEMBLY, WORKING

-

20Y-06-D1890

BULB, 70WATT

|$4

421-06-23330

BULB, 70WATT

2

20Y-06-21551

BRACKET

3

08193-21012

CLIP

4

01010-81225

BOLT

5

01643-31232

WASHER

6

01010-81225

BOLT

7

01643-31232

WASHER

8

04434-51012

CLIP

9

20Y-06-21590

BRACKET

10

01010-81225

BOLT

11

01643-31232

WASHER

12

20Y-06-41171

WIRING HARNESS

13

08034-20536

BAND

14

08034-20834

BAND

Выбрано товаров: 17