Запчасти Komatsu PC200-8M0 ГИДР. БАК. (-ДОПОЛН. АКТУАТОР ТРУБЫ, АККУМУЛЯТОР) H [ГИДРАВЛИКА]

Схема запчастей Komatsu PC200-8M0 - ГИДР. БАК. (-ДОПОЛН. АКТУАТОР ТРУБЫ, АККУМУЛЯТОР) H [ГИДРАВЛИКА]
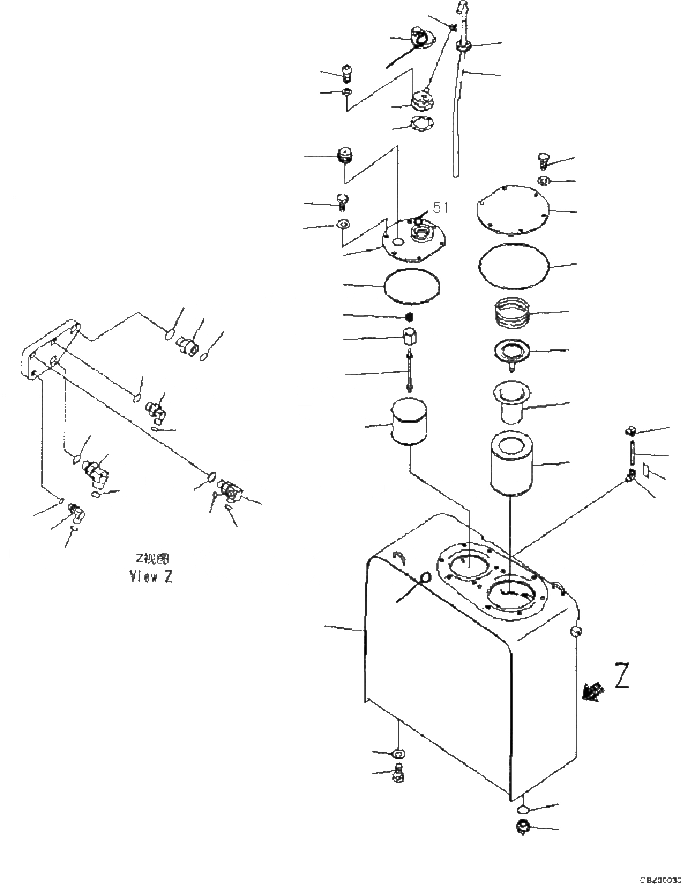
43
48
44
38
50
41
42
39
40
49
36
37
34
35
32
31
30
33
8
6
7
14
12
11
9
9
18
19
20
21
10
17
15
16
50
1
47
46
5
4
22
23
24
25
27
26
28
29
2
3
45
2
FIT
1:1
100%

Артикул

Название

Примечание

Количество

1

20Y-60-42111

TANK

2

203-60-31100

ELBOW ASSEMBLY

3

203-60-31160

TUBE

4

07044-12412

PLUG

5

07002-12434

O-RING

6

02781-00628

UNION

7

02896-11018

O-RING

8

07002-12434

O-RING

9

02782-10522

ELBOW

10

02896-11015

O-RING

11

07002-12434

O-RING

12

02782-10315

ELBOW

13

02896-11009

O-RING

14

07002-12034

O-RING

15

02782-10311

ELBOW

16

02896-11009

O-RING

17

07002-11423

O-RING

18

20Y-62-45690

TEE

19

02896-11009

O-RING

20

02896-11008

O-RING

21

07002-12034

O-RING

22

207-60-71183

ELEMENT

23

20Y-60-31140

STRAINER

24

20Y-60-31450

VALVE ASSEMBLY

25

20Y-60-21240

SPRING

26

207-60-77131

COVER

27

07000-15195

O-RING

28

01010-81225

BOLT

29

01643-31232

WASHER

|$30

20Y-60-31171

STRAINER ASSEMBLY

30

207-60-61150

ROD ASSEMBLY

31

20Y-60-21320

HOLDER

32

12R-60-11230

SPRING

33

22B-60-11160

STRAINER

34

20Y-60-42143

COVER

35

07000-15160

O-RING

36

01010-81225

BOLT

37

01643-31232

WASHER

38

208-60-41211

CAP ASSEMBLY

|$40

20Y-60-42220

CAP ASSEMBLY

Выбрано товаров: 40