Запчасти Komatsu PC200-8M0 ЗАДН. VIEW CAMERA(-CAMERA)(NO.) E

Схема запчастей Komatsu PC200-8M0 - ЗАДН. VIEW CAMERA(-CAMERA)(NO.) E
21
14
1
12
15
20
16
13
4
5
2
6
7
3
9
8
10
11
32
22
31
17
30
33
23
19
18
29
28
27
26
24
25
25
25
25
FIT
1:1
100%

Артикул

Название

Примечание

Количество

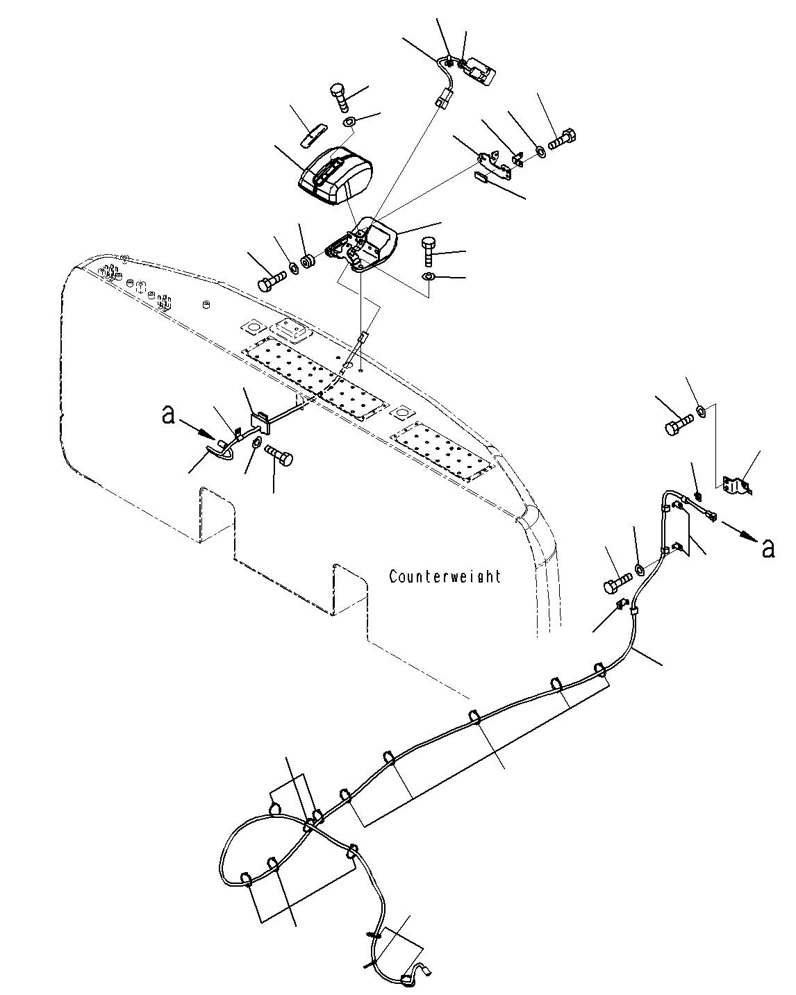
1

7835-33-2001

CAMERA

2

207-06-76420

COVER

3

20Y-06-71210

COVER

4

22U-06-31440

BRACKET

5

22U-06-31430

BRACKET

6

207-06-76460

SHEET

7

20Y-810-1240

CUSHION

8

01010-80835

BOLT

9

01643-30823

WASHER

10

01010-81230

BOLT

11

01643-31232

WASHER

12

01010-80616

BOLT

13

01643-30623

WASHER

14

175-06-81610

GROMMET

15

01010-80616

BOLT

16

01643-30623

WASHER

17

04434-51012

CLIP

18

01010-81225

BOLT

19

01643-31232

WASHER

20

207-06-76451

COVER

21

08059-00310

CLIP

22

207-06-76490

SHEET

23

20Y-06-42610

CABLE

24

20Y-06-43242

CABLE

25

08034-20536

BAND

26

08057-22012

CLIP

27

08057-12012

CLIP

28

01010-81225

BOLT

29

01643-31232

WASHER

30

20Y-06-43260

BRACKET

31

01010-81225

BOLT

32

01643-31232

WASHER

33

08057-12012

CLIP

Выбрано товаров: 0