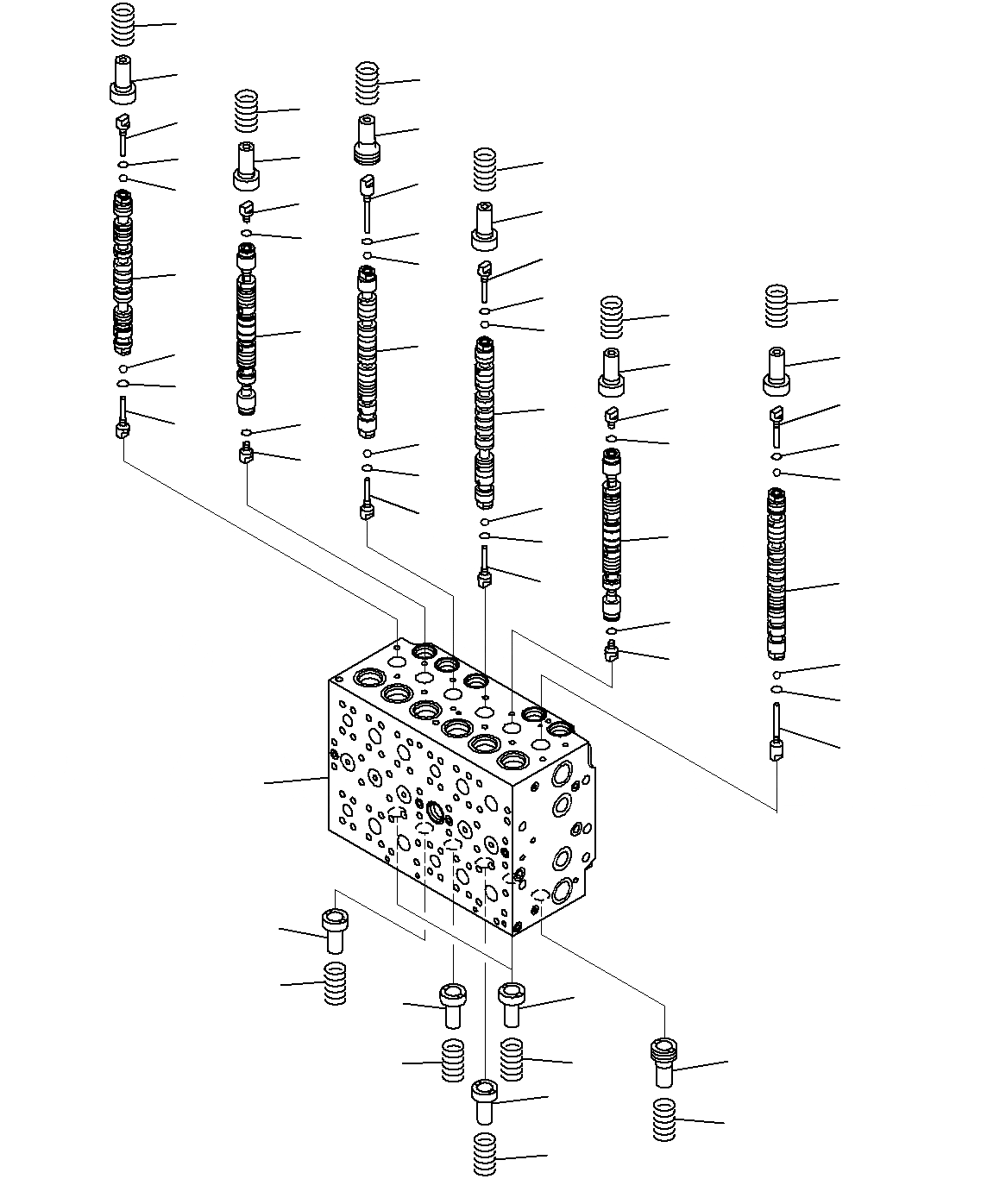
Запчасти Komatsu PC200-8M0 ОСНОВН. УПРАВЛЯЮЩ. КЛАПАН(ВНУТР. ЧАСТИ)(/)(-АКТУАТОР) H

Схема запчастей Komatsu PC200-8M0 - ОСНОВН. УПРАВЛЯЮЩ. КЛАПАН(ВНУТР. ЧАСТИ)(/)(-АКТУАТОР) H
16
13
16
19
7
15
12
10
16
9
11
8
12
10
10
7
11
2
10
18
16
3
11
4
11
14
13
10
7
8
5
10
7
11
10
10
8
10
11
11
7
3
10
6
7
10
11
8
10
9
1
12
19
13
14
15
17
16
12
16
16
FIT
1:1
100%

Артикул

Название

Примечание

Количество

|$1

723-47-29101

CONTROL VALVE

|$2

723-47-29100

CONTROL VALVE

|$3

BODY SUB ASS'Y

1

BLOCK,VALVE

2

SPOOL

3

SPOOL

4

SPOOL

5

SPOOL

6

SPOOL

7

723-46-15130

PLUG

8

723-46-15140

PLUG

9

723-46-15650

PLUG

10

07002-10823

O-RING

11

708-7T-16460

BALL

12

723-46-15120

RETAINER

13

723-46-15690

RETAINER

14

723-46-15950

RETAINER

15

723-46-15880

RETAINER

16

723-46-14110

SPRING

17

723-46-14280

SPRING

18

723-46-14290

SPRING

19

723-46-14131

SPRING

Выбрано товаров: 22