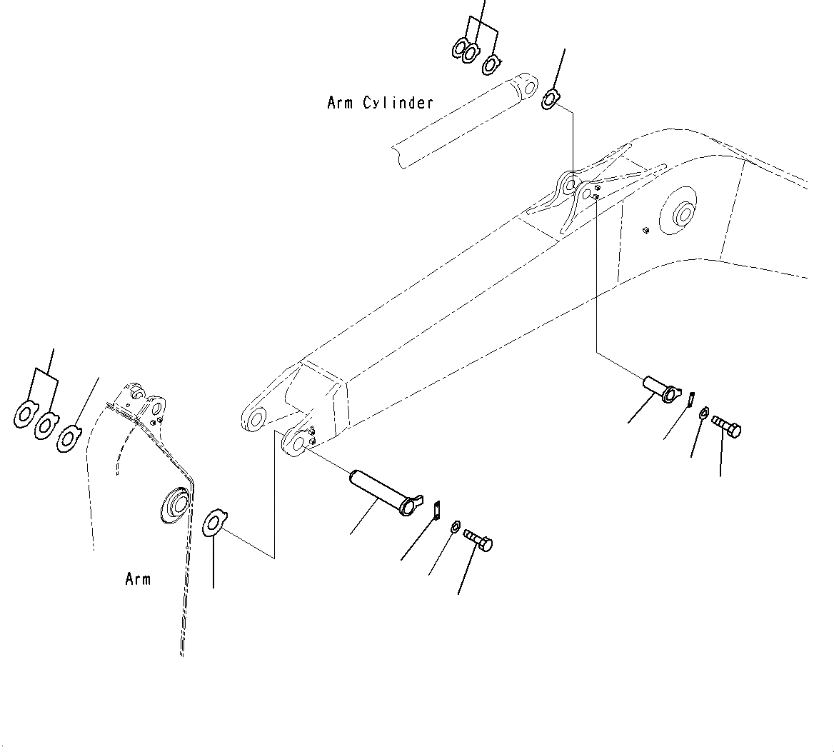
Запчасти Komatsu PC200-8M0 СТРЕЛА (ВЕРХН. ПАЛЕЦ И НИЖН. ПАЛЕЦ) T

Схема запчастей Komatsu PC200-8M0 - СТРЕЛА (ВЕРХН. ПАЛЕЦ И НИЖН. ПАЛЕЦ) T
8
7
10
12
1
4
6
5
3
2
3
9
11
FIT
1:1
100%

Артикул

Название

Примечание

Количество

1

205-70-65682

PIN

2

20Y-70-11360

SPACER

3

206-70-45210

SPACER

4

205-70-71312

PLATE

5

01010-81235

BOLT

6

01643-31232

WASHER

7

20Y-70-41250

PIN

8

20Y-70-11340

SPACER

9

205-70-51530

SPACER

10

205-70-66581

PLATE

11

01010-81230

BOLT

12

01643-31232

WASHER

Выбрано товаров: 12